EasyManua.ls Logo

Raytheon Beech Baron E55 - Page 773

Raytheon Beech Baron E55
903 pages
Print Icon
To Next Page IconTo Next Page
To Next Page IconTo Next Page
To Previous Page IconTo Previous Page
To Previous Page IconTo Previous Page
Loading...
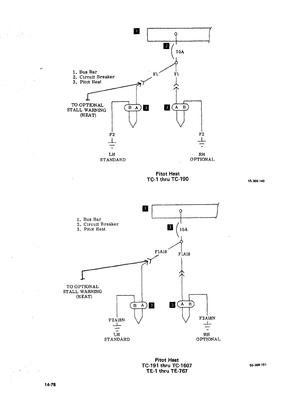
i_r;i
10A
I.
Bus
Bar
jf
i:
2.
Circuit
Breaker
3.
Pitot
Heat
TO
OPTIONAL
BA)
EI
STALL
WARNING
(H
EAT)
F2
F2
-L
-L
LH
RH
STANDARD
OPTIONAL
Pitot
Heat
TC-1
thru
TC-190
55369-119
1.
Bus
Bar
2.
Circuit
Breaker
j10A
3.
Pitot
Heat
F1A18
F1Als
;r/
TO
OPTIONAL
STALL
WARNING
(H
EAT)
B
k)~
F2A18N
F2A18N
,L
-L
LH
RH
STANDARD
OPTIONAL
Pitot
Heat
TC-191
thru
~C-1607
55´•369-181
TE-1
thru
TE-7fi7
14-76

Table of Contents

Related product manuals