EasyManua.ls Logo

Raytheon Beech Baron E55 - Page 776

Raytheon Beech Baron E55
903 pages
Print Icon
To Next Page IconTo Next Page
To Next Page IconTo Next Page
To Previous Page IconTo Previous Page
To Previous Page IconTo Previous Page
Loading...
r
H32A20N
RH
H30C20
H25B20
H30B20
_~
H31A20N
C
D
LH
P52A20
H26A20H25C20
H30A20
H28A20
H25A20
C
H28B20
1
1
AUTOMATIC
H29A20N
H26U20
H26B20
1_
H29A20N
OFF
I
-L
El
L~11’H30A20
MANUAL
20CA
r
-n,sazo-~
WITH
H-14
AUTOPILOT
INSTALLATION
H38P20
(P
iM7
,M7
H39A20N
H40A20N
j
i
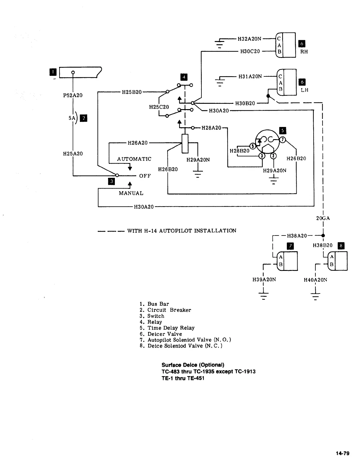
1.
Bus
Bar
2.
Circuit
Breaker
3.
Switch
4.
Relay
5.
Time
Delay
Relay
6.
Deicer
Valve
7.
Autopilot
Soleniod
Valve
(N.
O.
8.
Deice
Soleniod
Valve
(N.
C.
Surface
Deice
(Optlonal)
fC-483
thru
TC-1935
except
TC-1913
TE-1
thru
TE451
14-79

Table of Contents

Related product manuals