EasyManua.ls Logo

Raytheon Beech Baron E55 - Page 783

Raytheon Beech Baron E55
903 pages
Print Icon
To Next Page IconTo Next Page
To Next Page IconTo Next Page
To Previous Page IconTo Previous Page
To Previous Page IconTo Previous Page
Loading...
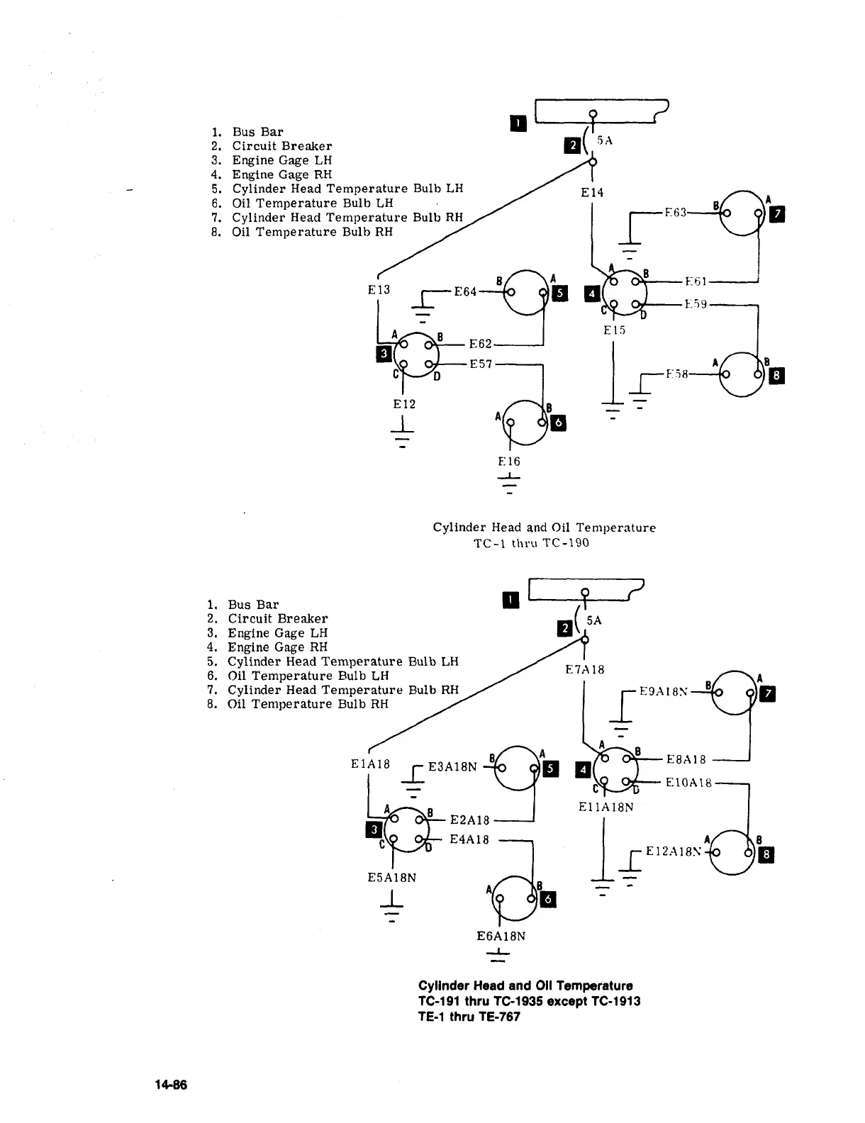
1.
Bus
Bar
2.
Circuit
Breaker
e(ls´•
3.
Engine
Gage
LH
4.
Engine
Gage
RH
5.
Cylinder
Head
Temperature
Bulb
LH
E14
6.
Oil
Temperature
Bulb
I~H
A
7.
Cylinder
Head
Temperature
Bulb
RH
_rE63
8.
Oil
Temperature
Bulb
RH
A~B
EA
E15
B
E61
E13
E64
I
t:jy
E57
j
aA
D
r’
E12
E16
-L
Cylinder
Head
and
Oil
Temi,ernture
TC-1
tllru
TC-190
1.
Bus
Bar
pi
p
r’
2.
Circuit
Breaker
g(:A
3.
Engine
Gage
LH
4.
Engine
Gage
RH
5.
Cylinder
Head
Temperature
Bulb
LH
E7~18
6.
Oil
Temperature
Bulb
LH
QA
7.
Cylinder
Head
Temperature
Bulb
RH
II
F~9X18N
8.
Oil
Temperature
Bulb
RH
BE3A18NE2A1A
EI1A18NB
E1A18
E8A18
II
E1OA1BB
6
E4A18
E12r~18.V
E5A18N
E6A18N
-L
Cylinder
Head
and
Oil
Temperature
TC-191
thru
TC-1935
except
TC-1913
TE-1
thru
TE-767
14-86

Table of Contents

Related product manuals