EasyManua.ls Logo

Raytheon Beech Baron E55 - Page 794

Raytheon Beech Baron E55
903 pages
Print Icon
To Next Page IconTo Next Page
To Next Page IconTo Next Page
To Previous Page IconTo Previous Page
To Previous Page IconTo Previous Page
Loading...
al
P
CI
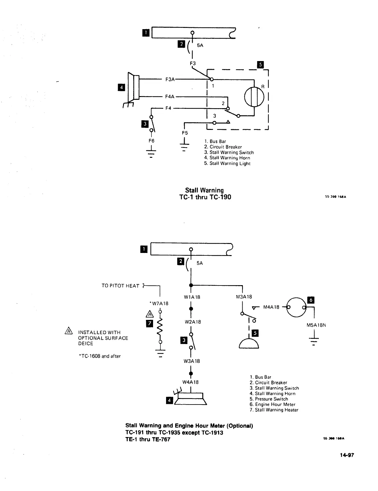
F3
F3A
1
F4A
6"
1
3
I
Fl
;1
I
Bui
aa~
1,
2.
Circuit
Breaker
3.
Stall
Warning
Switch
4.
Stall
Warning
Horn
5.
Stall
Warning
Light
Stall
Warning
TC-1
thru
7C-190
sl
P
r’
TO
PITOT
HEAT
t/
W1A18
M3A18
"W7A18
t
M4A18
i
´•i
1.
W2A18
M5A18N
INSTALLED
WITH
Is
OPTIONAL
SURFACE
DEICE
’TC-
1
608
and
after
W3A18
la.,8,,
W4A
18
2.
Circuit
Breaker
3.
Stall
Warning
Switch
4.
Stall
Warning
Horn
5.
Pressure
Switch
6.
Engine
Hour
Meter
7.
Stall
Warning
Heater
Stall
Warning
and
Engine
Hour
Meter
(Optional)
TC-191
thru
TC-1935
except
TC-1913
TE-1
thru
tE-767
~esl

Table of Contents

Related product manuals