EasyManua.ls Logo

Raytheon Beech Baron E55 - Page 815

Raytheon Beech Baron E55
903 pages
Print Icon
To Next Page IconTo Next Page
To Next Page IconTo Next Page
To Previous Page IconTo Previous Page
To Previous Page IconTo Previous Page
Loading...
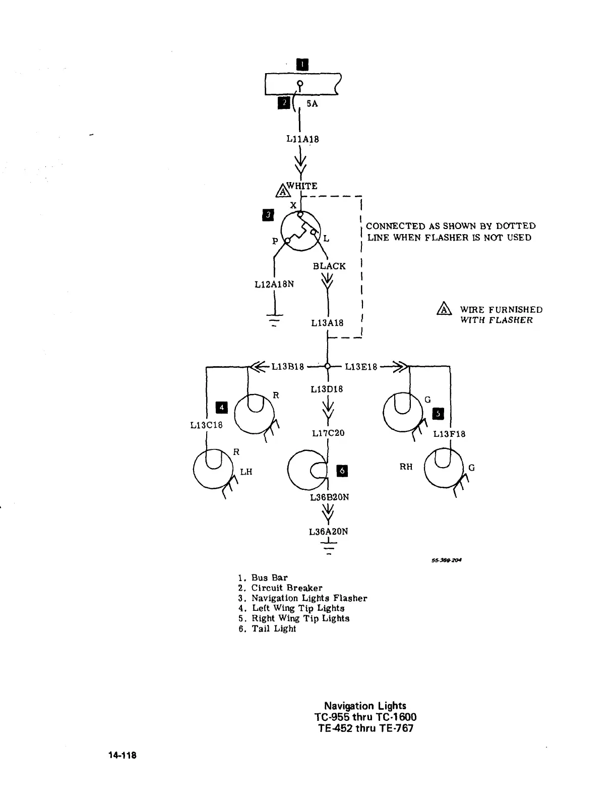
LllA18
CONNECTED
AS
SHOWN
BY
DOTTED
,bN
UL
LINE
WHEN
FLASHER
IS
NOT
L’SED
BLACK
L12A18NI
L~
WIRE
FURNISHED
L13A18
WITH
FLASKER
L13B1Sdtr3E1S
L1SD1S
R
C
L13C18
L17C20
L13F18
L36A20N
1.
Bus
Bar
2.
Circuit
Breaker
3.
Navigation
Lights
Flasher
4.
Left
Wing
Tip
Lights
5.
Right
Wing
Tip
Lights
6.
Tail
Light
Navigation
Lights
TC-955
thru
TC´•1600
TE452
thru
75-767
14-118

Table of Contents

Related product manuals