EasyManua.ls Logo

Raytheon Beech Baron E55 - Page 839

Raytheon Beech Baron E55
903 pages
Print Icon
To Next Page IconTo Next Page
To Next Page IconTo Next Page
To Previous Page IconTo Previous Page
To Previous Page IconTo Previous Page
Loading...
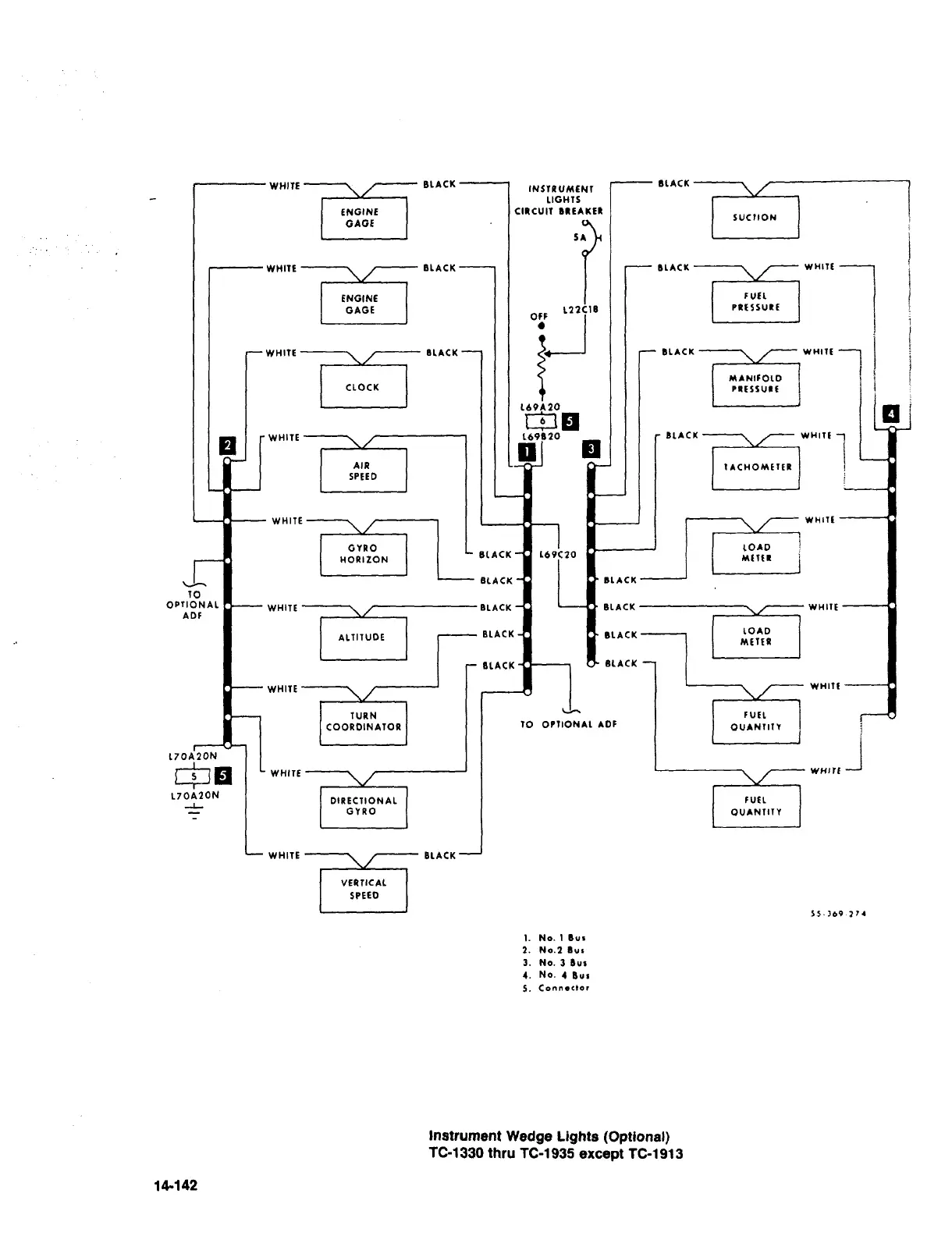
WHlrE--~
/I-BLACK
BLACK
INSTRUMENT
LIGHTS
ENGINE
I I
CIRCUIT
BREAKER
SUCI1ON
i
OAOE
WHITE
WHI~E
BLACK
ENGINE
rVEl
GAGE
L12CIB
Plf~SUIE
Orl
s~*cle
M*CIIIOID
WHllt
i
WHITE
?i
CLOCK
PREIIURE
IsPps0
1
6(~
B
WHITI
AIR
I
I
I
L--~-l
~I
I
I
I
TACHOMETER
SPEED
WHITE
I
I
~I
I
I
GYIO
LOAD
BLACK
L64C10
METER
HORIZON
BLACK
-Y
Y
BLACK
TO
OPTIONAL
WHITE
BLACK
L~
BLACK
WHITE
ADF
ALTITUDE
BLACK
LOAD
METER
BLACK
BLACK
I I
~Utl
TURN
COORDINATOR
70
OIIIONALADF
OUAHIITI
I
i
lie
WHITE--~
I
~----WHllti
L70A20N
L70A20N
DIRECTIONAL
CYRO
OUANTITl
WHITE
BLACK
VERTICAL
SPEED
IS-)bP
i.
No.
1
Bui
2.
No.llul
3.
No.
3
Bu,
4.
No.
4
Bui
Z.
Conn´•oor
Instrument
Wedge
Lights
(Optional)
TC-1330
thru
TC-1935
except
TC-1913
14-142

Table of Contents

Related product manuals