EasyManua.ls Logo

Raytheon Beech Baron E55 - Page 859

Raytheon Beech Baron E55
903 pages
Print Icon
To Next Page IconTo Next Page
To Next Page IconTo Next Page
To Previous Page IconTo Previous Page
To Previous Page IconTo Previous Page
Loading...
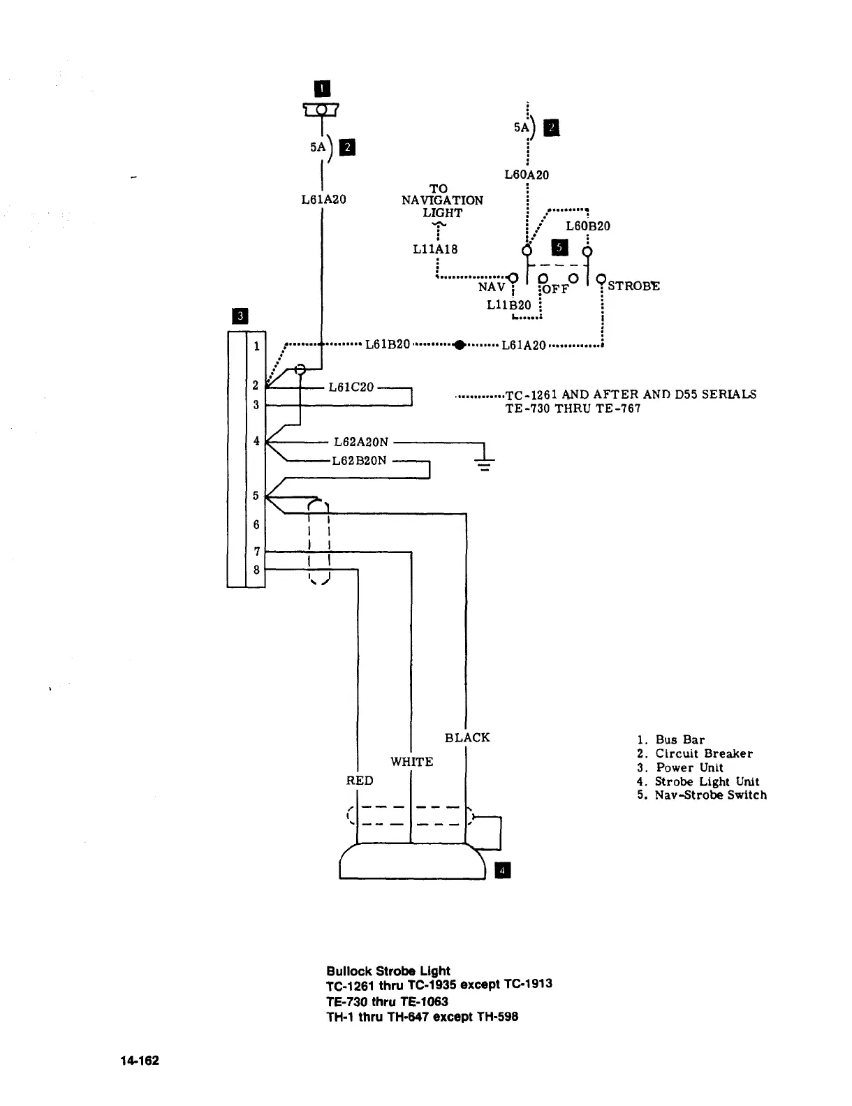
"P
5A
L60A20
TO
L61A20
NAVIGATION
LIGHT
LBbs20
L11A18
to
i’
t´•---
´•´•´•´•´•´•´•´•´•´•´•´•´•´•´•´•9
loo
NAV
~OFF
STROBF
L11Bao
i
II
L61B20
p´•´•´•´•´•´•´•´•~´•´•´•´•´•´•´•´•
L61A20
2v
L61C20
´•´•´•´•´•´•´•´•´•´•´•´•TC-1261
AND
AFTER
AND
D55
SERWLS
3
TE-730
THRU
TE-767
4
IC-------
L62A20N
L62B20N
BLACK
1.
8us
Bar
2.
Circuit
Breaker
WHITE
3.
Power
Unit
RED
4.
Strobe
Light
Unit
5.
NavStrobe
Switch
/I----
Bullock
Strobe
Light
’10-1281
thru
TC-1935
except
TC-1913
78-730
thru
TE-1063
TH-1
thru
TH-847
except
TH-598
14-162

Table of Contents

Related product manuals