EasyManua.ls Logo

Realistic PRO-2022 - Page 53

Realistic PRO-2022
64 pages
Print Icon
To Next Page IconTo Next Page
To Next Page IconTo Next Page
To Previous Page IconTo Previous Page
To Previous Page IconTo Previous Page
Loading...
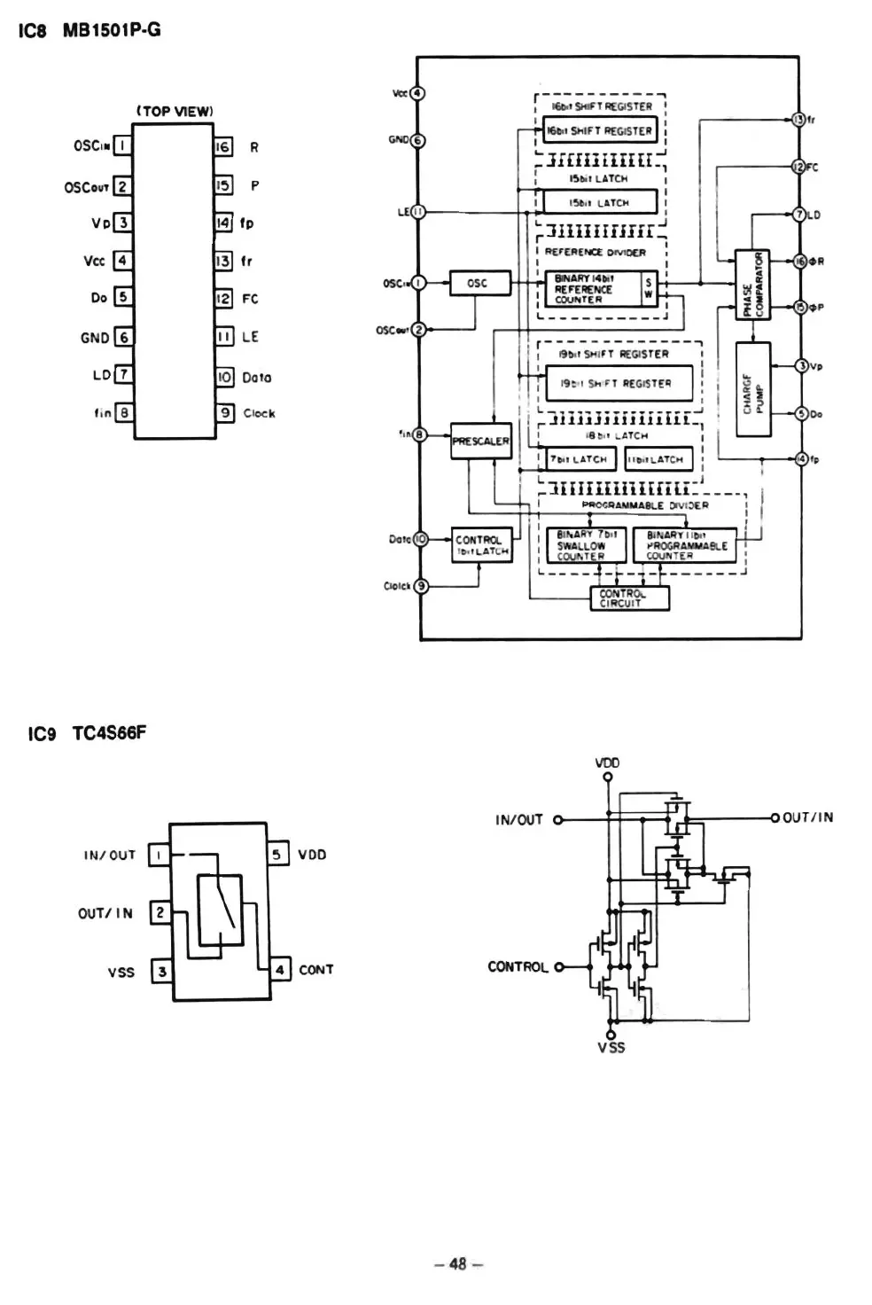
ice MB1501P-G
(TOP VIEW)
R
P
fp
Vee
rr
Do
Fe
GNO
LE
LO
0010
lin
Cloek
IC9 TC4S66F
voo
o--
---'=
~;=:::t'
.J~
-
--o
OUT
/I
N
IN/
OU
T
vss
IN/ OUT
OUT/
IN
vss
- 4
8-

Related product manuals