EasyManua.ls Logo

Reely Sky Agusta - D) Überprüfen und Einstellen des Spurlaufes

Reely Sky Agusta
Print Icon
To Next Page IconTo Next Page
To Next Page IconTo Next Page
To Previous Page IconTo Previous Page
To Previous Page IconTo Previous Page
Loading...
28
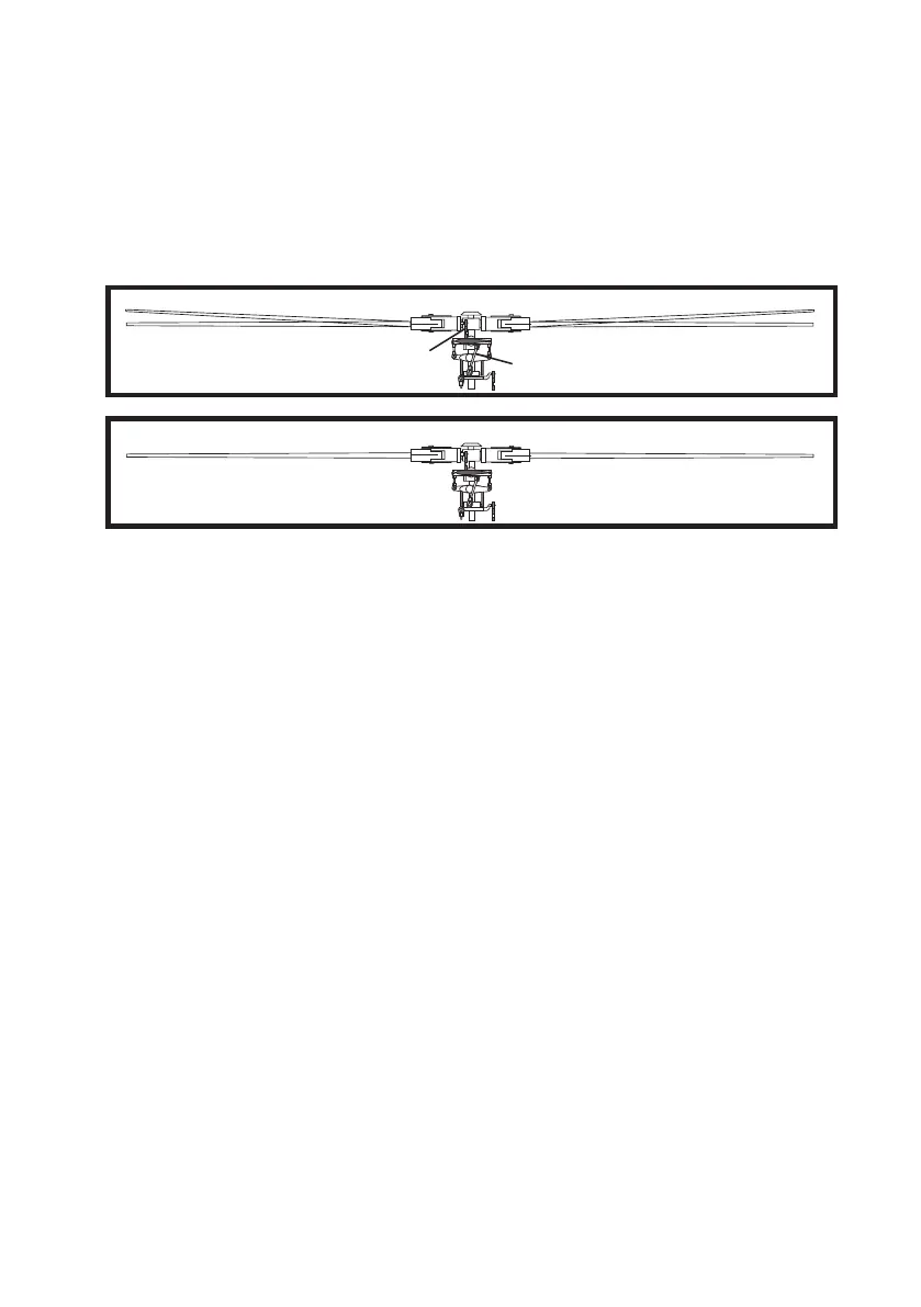
d) Überprüfen und Einstellen des Spurlaufes
Nachdem Sie die erforderlichen Einstellungen am Sender und an der Mechanik durchgeführt haben, können Sie nun
den Spurlauf kontrollieren.
Die Kontrolle des Spurlaufs erfolgt am Besten im Flug. Markieren Sie hierzu ein Rotorblatt am Blattende mit einem
dunklen oder leuchtenden Klebeband. Während des Schwebeflugs in Kopfhöhe können Sie erkennen, welches Rotor-
blatt korrigiert werden muss. Stellen Sie an beiden Anlenkgestängen A und B einen exakten Spurlauf des Hilfspaddels
und der Rotorblätter ein.
Bild 18
A
B

Table of Contents