EasyManua.ls Logo

Regada ST 0 - Dimensional Drawings

Regada ST 0
43 pages
Print Icon
To Next Page IconTo Next Page
To Next Page IconTo Next Page
To Previous Page IconTo Previous Page
To Previous Page IconTo Previous Page
Loading...
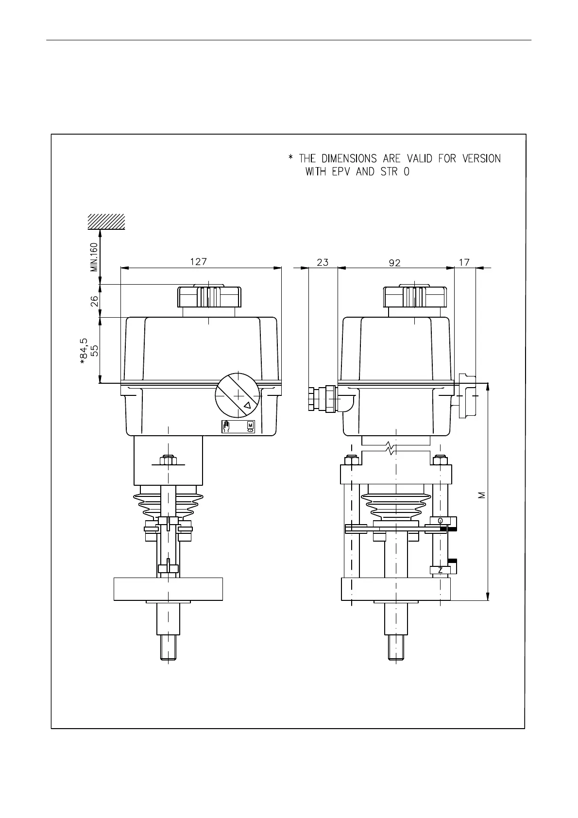
26 ST 0, STR 0
6.2 Dimensional drawings
EA ST, STR (The dimensions are valid also for the following dimensional drawings where only
mechanical connection types are shown.)

Related product manuals