EasyManua.ls Logo

Reznor UEZ - Motor, Valve, and Switch Maintenance

Reznor UEZ
64 pages
Print Icon
To Next Page IconTo Next Page
To Next Page IconTo Next Page
To Previous Page IconTo Previous Page
To Previous Page IconTo Previous Page
Loading...
55
UEZ-IOM (07-23) 1034347-I
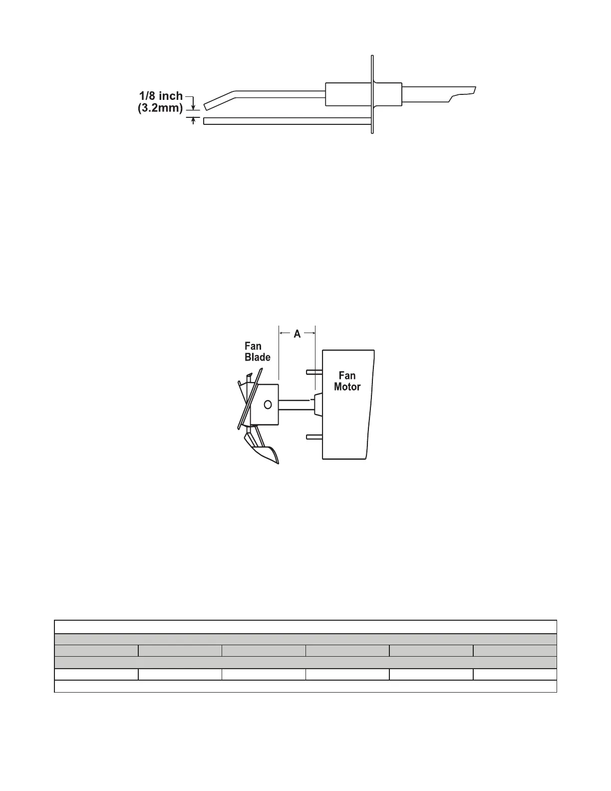
Figure 33. Ignitor Spark Gap
Maintenance of Fan Motor, Fan Blades, and Fan Guard
Inspect and clean the motor, fan guard, and blades. Remove any dirt and grease. Take care when cleaning the fan
blades so as prevent causing misalignment or imbalance. Check to ensure that the hub of the fan blades is secure
to the shaft. If necessary, replace the assembly as follows:
1. If heater has been installed, turn OFF gas and disconnect electric power.
2. Remove access panel and disconnect fan motor wires, capacitor wires at capacitor, and ground screw.
3. Remove assembled parts (fan guard, motor, and fan blade).
4. Disassemble and replace part(s) as needed.
5. Reassemble using replacement part(s) as needed and original parts.
6. Ensure that fan blade is in proper position on shaft (see Figure 34).
Figure 34. Fan Blade Positioning (Refer to Table 26)
7. Position assembly on heater and attach fan guard.
8. Rotate fan blade to check for adequate clearance. If adjustment is required, loosen mounting screws, reposition
fan guard, and tighten screws. Repeat until assembly is positioned properly.
9. Reconnect fan motor wires in accordance with wiring diagram.
10. Install access panel.
11. Restore electric power to heater and turn ON gas.
12. Follow instructions on lighting instruction plate to light heater.
13. Check for proper heater operation.
Table 26. Fan Blade Positioning
Unit Size
055 085 110 130, 180 260 310
Dimension A (Inches (mm))*
1-1/4 (32) 2-5/16 (59) 2-3/8 (60) 1-5/8 (67) 2 (51) 1-7/8 (48)
*See Figure 34.

Table of Contents

Other manuals for Reznor UEZ

Related product manuals