EasyManua.ls Logo

Ricoh SR3260 - Page 47

Ricoh SR3260
128 pages
Print Icon
To Next Page IconTo Next Page
To Next Page IconTo Next Page
To Previous Page IconTo Previous Page
To Previous Page IconTo Previous Page
Loading...
1.Detailed Descriptions
41
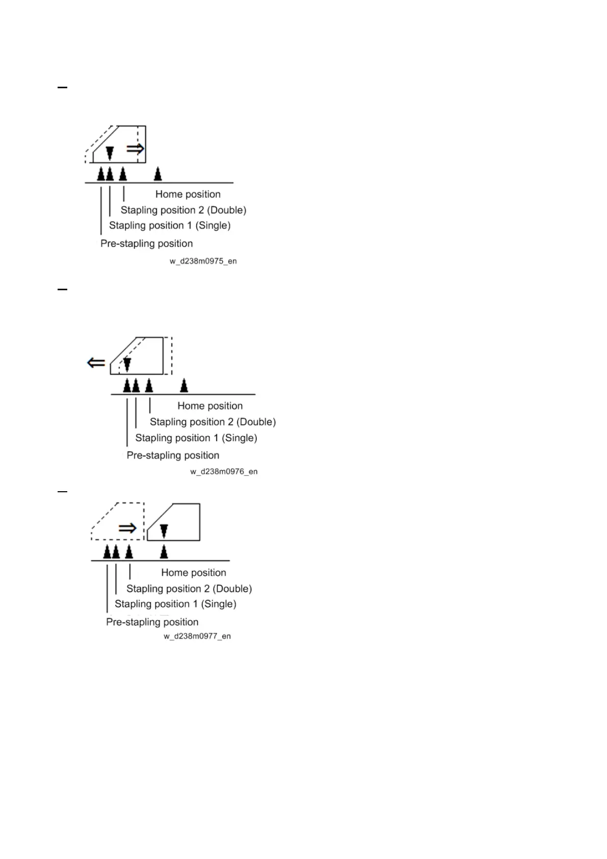
3. After receiving the first sheet, the stapleless stapler unit moves from the Stapling Position 1
towards the rear by 2.2 mm. After stacking the sheets, stapling is performed. (Stapling Position 1)
4. When stapling on multiple copies, the stapleless stapler unit moves towards the front by 2.2 mm
from the pre-stapling position after the paper is delivered.
When stapling on multiple copies, Steps 3 and 4 are repeated.
5. The stapleless stapler unit returns to the home position after completing the job.

Table of Contents

Related product manuals