EasyManua.ls Logo

Riello RS 300/E LN - Rotation of Fan Motor; Gas Train; Gas Train Assembly

Riello RS 300/E LN
44 pages
Print Icon
To Next Page IconTo Next Page
To Next Page IconTo Next Page
To Previous Page IconTo Previous Page
To Previous Page IconTo Previous Page
Loading...
20008423
22
GB
Installation
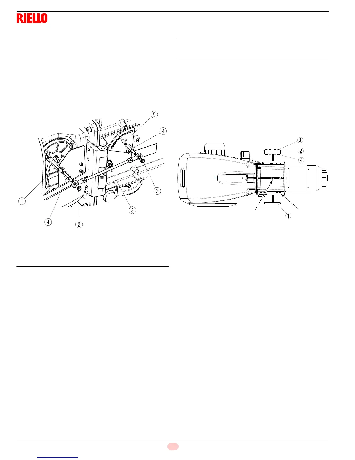
If combustion requirements require you to move spacer 1) (Fig.
18) onto the 1
st
or 2
nd
hole of the gear and, at the same time,
the hinge is on the right, you need to fit the spacers 4) (Fig. 18)
supplied with the burner.
Proceed as follows:
first unscrew nuts 2), remove tie rod 3), unscrew spacer 1)
and position it on the hole you want,
screw the spacers 4) onto spacer 1) and screw 5) respec-
tively,
once done, refit the tie rod and nuts.
4.9 Rotation of fan motor
The correct motor rotation direction is indicated by the phase se-
quence relay 16) (Fig. 6).
After turning the power on to the burner, check the green led
lights up on the phase sequence relay.
If the phase sequence is not correct, the burner does not fire.
4.10 Gas train
4.10.1 Gas train assembly
The gas train is to be connected on the right of the burner, by
flange 1) (Fig. 19).
If necessary:
connect it on the left of the burner;
loosen nuts and screws 3) and 4);
remove blind flange 2) together with its gasket;
fit them to flange 1) tightening the nuts and screws.
Note
Once assembled the gas train, check for leaks.
D3409
Fig. 18
Fig. 19
D3095
P1 P4

Table of Contents