EasyManua.ls Logo

Risco ProSYS 128 - Advanced Communication Module (ACM)

Risco ProSYS 128
232 pages
Print Icon
To Next Page IconTo Next Page
To Next Page IconTo Next Page
To Previous Page IconTo Previous Page
To Previous Page IconTo Previous Page
Loading...
ProSYS Installation and Programming Manual 165
Accessories: Add Delete Module
Quick Keys Parameter Default Range
status indication will be indicated on the reader
14. Press
/ .
NOTE:
Recording tags can be performed only from Proximity Key Reader ID number 1.
77
11
99
22
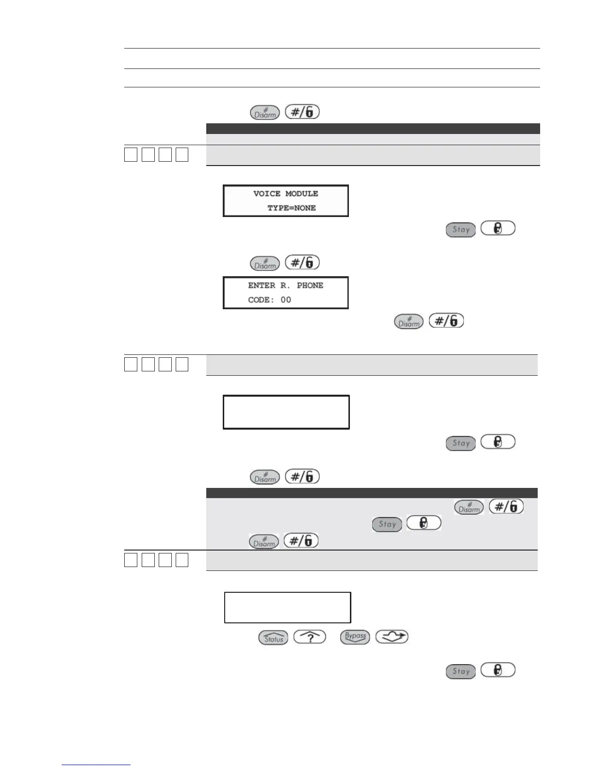
Advanced Digital Voice Module
1. Press [2]. The following display appears:
2. With the cursor positioned at the TYPE field, use the / key
to toggle and choose the VOICE option.
3. Press
/ . The following display appears:
4. Type in a remote phone code and press / . The remote
code is used when calling the system from a remote phone. Refer to the
ProSYS User's Manual for additional details.
77
11
99
33
Advanced Communication Module (ACM)
1. Press [3]. The following display appears:
ACM MODULE:
TYPE=NONE
ACM MODULE:
TYPE=NONE
2. With the cursor positioned at the TYPE field, use the / key
to toggle and choose the ACM option.
3. Press
/ to store your choice.
NOTE:
If ACM module is found and NONE has been selected, Press / to
return to the prior display -OR- Press the / key to select [Y] YES
and press / to confirm the delete.
77
11
99
44
Siren
1. Press [4]. The following display appears:
OUT DOOR SIREN:
ID=1 TYPE=SIRN
2. Use the / or / keys to position the cursor
over the ID number to which you want to assign and configure the siren.
3. With the cursor positioned at the TYPE field, use the
/ key
to toggle and choose the SIRN option.

Table of Contents

Other manuals for Risco ProSYS 128

Related product manuals