EasyManua.ls Logo

Roadmaster Invisibrake 8700 - Component Mounting Location Planning

Roadmaster Invisibrake 8700
20 pages
Print Icon
To Next Page IconTo Next Page
To Next Page IconTo Next Page
To Previous Page IconTo Previous Page
To Previous Page IconTo Previous Page
Loading...
Plan the installation
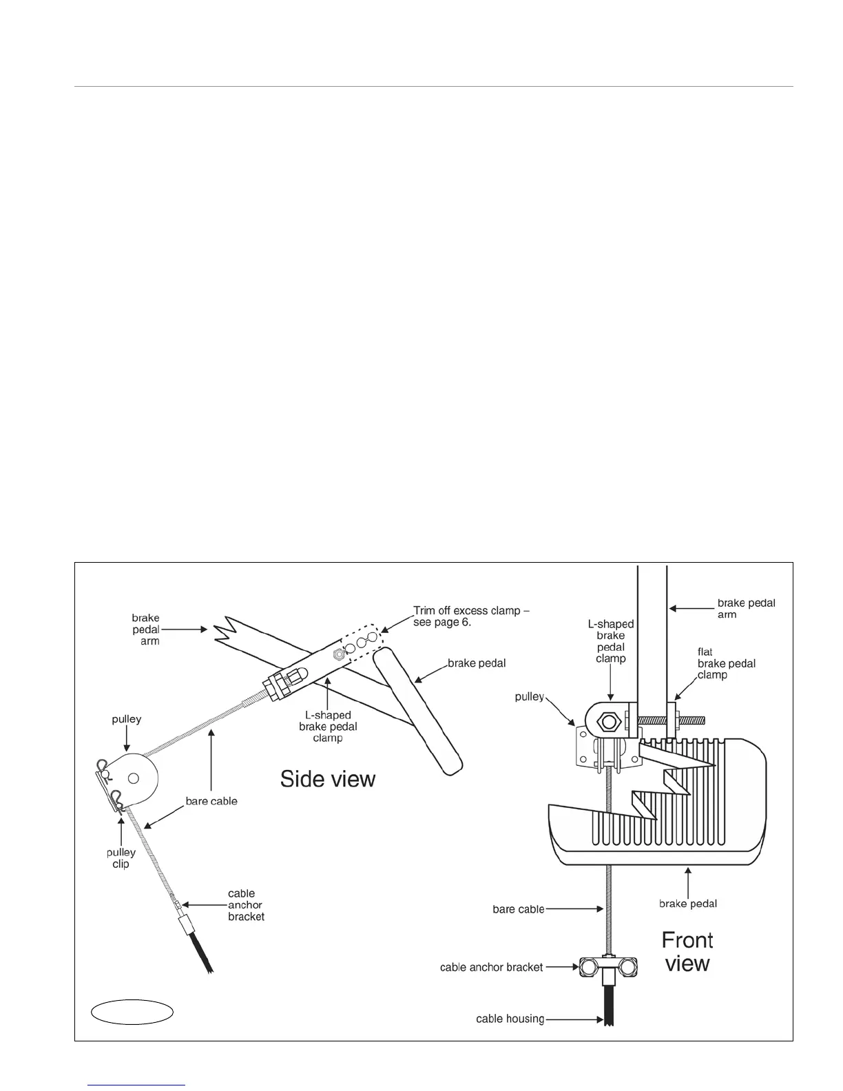
Figure 1
Note: the mounting locations of the controller, pulley
and air cylinder are dependent on each other — where
you choose to attach one affects the mounting loca-
tions of the other two. Before attaching any of these
components, plan where they will all be attached, by
following the steps below.
Choose a mounting location for the controller
The ideal location for the controller (page one) is
under the driver’s or passenger's seat. However, it can
be mounted anywhere in the interior of the vehicle —
under the rear seats, in the trunk or behind panels.
The controller can be mounted horizontally, vertically
or upside down.
Choose a mounting location that meets the following
conditions —
The brake pressure adjustment knob (page one)
must be accessible to the installer.
If you mount the controller under one of the seats,
test to make certain that the controller will not interfere
with the movement of the seat or affect any adjustments
to the seat.
CAUTION
Check the seat movement and adjustments.
If the InvisiBrake controller is installed under one
of the seats, carefully check to make certain that
the controller will not interfere with the movement
of the seat or affect any adjustments to the seat.
Severe non-warranty damage to the seat and/or the
controller can result if the seat comes into contact
with the controller.
If there is interference, make certain that the seat
is not moved beyond the point that would cause
damage.
If the seat is removed for installation, ensure that
any airbag warning lights initiated when switch-
ing the ignition on with the seat disconnected are
cleared before completion.
Failure to follow these instructions may cause
property damage.
The controller will be attached with two of the 3/8"
self-tapping screws. The underlying material must be of
sufficient strength to hold the controller in place; make
certain that the screws will not damage any compo-
nents or electronics on the other side of the firewall.
An electrical harness will be routed from the con-
troller to the vehicle's battery (or if the battery is inac-
continued on next page
5

Related product manuals