EasyManua.ls Logo

Robomow MC500 - Lawn Type Specifics; Main Zone + Sub-Zone Lawn Setup; Separated Zones Lawn Setup

Robomow MC500
52 pages
Print Icon
To Next Page IconTo Next Page
To Next Page IconTo Next Page
To Previous Page IconTo Previous Page
To Previous Page IconTo Previous Page
Loading...
11
EN
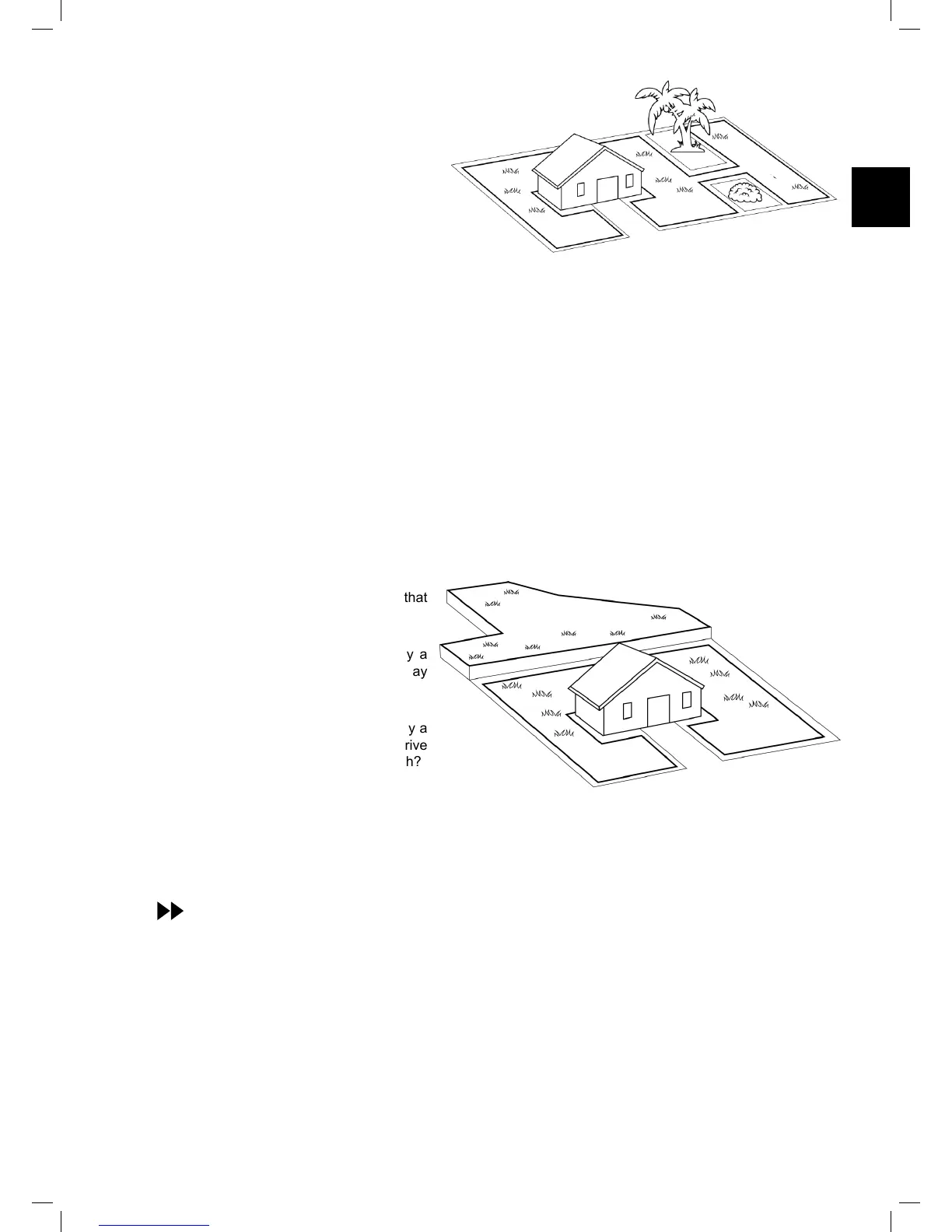
3.1.2 “Main Zone + Sub-Zone(s)“ Type Lawn
This type of lawn consists of more than one
zone and these zones are connected by a
narrow pass.
In this type of lawn, Robomow will be able
to drive from one zone to the other in order
to mow the whole area.
If you answer “yes” to all of the following
questions, your lawn is a “Main Zone + Sub-
Zone” type lawn:
o Is your grass area one continuous area?
o Are parts of your lawn separated from the Main Zone?
o Is there a Narrow Pass of at least 1m (3.3 ft.) for Robomow to drive through between these zones?
o Is this Narrow Pass rm, level and smooth (not stony, sandy or elevated)? For example: grass area,
sidewalk, rm path, solid ground.
Such additional areas are called Sub-Zones.
If your lawn contains a Sub-Zone as dened in this section, refer to Section 6.4.2 (Add Sub-Zone number
p022 in the table).
Dening Sub-Zone(s) will enable Robomow to drive through the Narrow Pass in order to get to a Sub-Zone and
to mow both the Main Zone and its Sub-Zone(s) one zone at a time.
If your lawn does not match this description, skip to the next Section 3.1.3 of this chapter: “Separate Zones”
3.1.3 “Separated Zones” Type Lawn
“Separated Zones” type lawn consists of two or more zones that are not connected. Robomow cannot drive
between these zones.
If you answer “yes” to at least one of the following questions, your lawn is of the “Separated Zones” type.
o Are parts of your lawn separated by
fences, sidewalks, or other objects that
Robomow cannot pass?
Or
o Are parts of your lawn separated by a
gravel path or similar material that may
damage the mower blade?
Or
o Are the zones of your lawns joined by a
pass too narrow for Robomow to drive
through: less than 1m (3.3 ft.) in width?
Or
o Are the zones of your lawn situated at lower or higher level?
If your lawn contains a Separated Zone as dened in this section, refer to Section 6.4.2 (Add Separated
Zone - number p014 in the table).
If your lawn does not t any of these descriptions, it is probably either a “Main Zone Only” or
“Main Zone +Sub- Zone” type. Skip to Section 3.3 – Select Base Station and Power Box Location
.
 A lawn may consist of up to 2 Separated Zones
.
 The mower must be carried or driven to this area manually.
 Any of the 3 types can be a combination of more than one type of lawn.
Main Zone
Main Zone
Sub-Zone
Main + Sub-Zone with a Narrow Pass
Main Zone
Main Zone
Separated Zone
Separated Zone
Separated Zone
Separated Zone
Main Zone
Main Zone

Table of Contents

Other manuals for Robomow MC500

Related product manuals