EasyManua.ls Logo

Roland MP-60 - Connecting MIDI Devices; Whats MIDI; Making MIDI-Related Settings

Roland MP-60
44 pages
Print Icon
To Next Page IconTo Next Page
To Next Page IconTo Next Page
To Previous Page IconTo Previous Page
To Previous Page IconTo Previous Page
Loading...
30
Chapter 6. Connecting External Devices
Connecting MIDI Devices
By connecting an external MIDI device and exchanging
performance data, you can control the performances on one
device from the other. For instance, you can output sound
from the other instrument or switch tones on the other
instrument.
What’s MIDI?
MIDI stands for Musical Instrument Digital Interface, an
international standard which allows performance
information to be communicated among electronic musical
instruments and computers.
The MP-60 provides MIDI connectors, which allow
performance data to be exchanged with external devices.
When these connectors are used to connect the MP-60 to
external devices, an even wider range of possibilities
becomes available.
* A separate publication titled “MIDI Implementation” is also available.
It provides complete details concerning the way MIDI has been
implemented on this unit. If you should require this publication (such
as when you intend to carry out byte-level programming), please
contact the nearest Roland Service Center or authorized Roland
distributor.
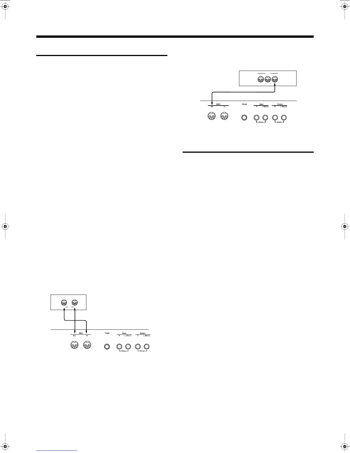
Connection Examples
* To prevent malfunction and/or damage to speakers or other devices,
always turn down the volume, and turn off the power on all devices
before making any connections.
Playing the MP-60 from a MIDI sequencer/
Recording an MP-60 performance on a MIDI
sequencer
fig.midi2.e
* Set Local Off if you have connected the MP-60 to a MIDI sequencer.
Refer to “Switching Local Control on and Off” (p. 31). Also set your
MIDI sequencer to MIDI Thru mode (so that messages received at
MIDI IN will be re-transmitted without change from MIDI OUT).
For details, refer to the owner’s manual of your MIDI sequencer.
Perform on the MP-60 to play a MIDI sound
generator
fig.midi1.e
Making MIDI-related Settings
Here’s how you can set the transmit channel and other MIDI-
related settings.
How to enter function mode
1.
Hold down the [ON/OFF] button and press the [BEAT]
button.
The indicators of the buttons you pressed will blink, and
you will enter function mode.
The display will indicate the value of the currently
selected function.
Setting various functions
2.
Press the button to which the desired function is
assigned.
The indicator of the button you pressed will blink.
For details on the contents of each function, refer to the
explanations that follow.
3.
Press the [+] or [-] button to change the value.
If you press the [+] and [-] buttons simultaneously, the
setting will return to the original value.
How to exit function mode
4.
Press either the [ON/OFF] button or the [BEAT] button.
The button’s indicator will return to the previous state.
MP-60
InOut
MIDI
MT Series
* MT-90s has no MIDI Out connector.
OUTTHRU IN
MIDI
MP-60
Sound Module
MP-60_e.book 30 ページ 2005年3月23日 水曜日 午後5時52分

Table of Contents

Related product manuals