EasyManua.ls Logo

RTS MKP-4 - Connections and System Interface; Audio and Mic Connections; Intercom System Connection

RTS MKP-4
20 pages
Print Icon
To Next Page IconTo Next Page
To Next Page IconTo Next Page
To Previous Page IconTo Previous Page
To Previous Page IconTo Previous Page
Loading...
2.4 CONNECTIONS
2.4.1 Mic Connector
To connect a panel microphone, such as the RTS model
MCP5 or MCP6, screw the microphone into the Mic
connector on the front panel of the MKP-4.
For Mic connector specifications, see page 8.
2.4.2 Headset Connector
The Headset connector accepts a monaural, dy
-
namic-microphone headset (headphones and micro
-
phone). If you use a headset, make sure DIP switch 4 is
set to the Open position (page 9
).
Alternatively, headphones can be connected when a panel
microphone is used for talkback. Or, a handheld dynamic
microphone can be connected when a speaker is used for
listening. If you use either of these special configura
-
tions, make sure DIP switch 4 is set to the Close position
(page 9).
For Headset connector specifications, see page 8.
2.4.3 Speaker Connector
The speaker output can be used for listening when a panel
microphone is used for talkback. If you use this configu-
ration, make sure DIP switch 4 is set to the Open position
(page 9).
The speaker output can also be used for listening when a
handheld microphone is used for talkback. If you use this
special configuration, make sure DIP switch 4 is set to the
Close position (page 9
).
For Speaker connector specifications, see page 8.
2.4.4 Connection To Intercom System
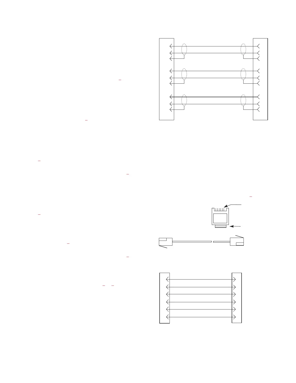
Use a standard RTS intercom cable. Either a 9-pin or
RJ12 type can be used. Refer to Figure 3 or 4. Plug one
end of the cable into the appropriate Frame connector on
the back panel of the keypanel. Plug the other end into the
appropriate port of the intercom system. (This will be the
port number that you designated previously when setting
the Address switch.)
Keypanels may be connected while the intercom
system is running.
Note that 9-pin intercom cables for use with an
ADAM CS frame must use special connectors at the
intercom matrix end as described in Figure 3
.
12 User Instructions MKP-4 Keypanel
DE-9P (MALE)
TO KEYPANEL
DE-9S (FEMALE)
TO INTERCOM SYSTEM*
CABLE TYPE:
BELDEN 8777
1
2
6
4
5
9
7
8
3
1
2
6
4
5
9
7
8
3
DATA
AUDIO TO MATRIX
AUDIO FROM MATRIX
+
-
+
-
-
+
When connecting to an ADAM CS back panel, use
only low-profile cable connectors such as AMP
Part No. 747516-3 (Telex Part No. 59926-678)
IMPORTANT!
*
Figure 3. 9-pin Intercom cable wiring diagram.
Important: Shield connections at keypanel end are
optional and may cause ground loops if used.
3 TWISTED PAIR TELEPHONE CABLE
1
2
3
4
5
6
DATA -
1
2
3
4
5
6
AUDIO FROM MATRIX +
AUDIO TO MATRIX -
DATA +
123456
CONTACTS
LATCH
RJ12 MODULAR PLUG
AMP 5-555042-3 or equivalent
(View from cable entrance)
Use AMP Chordal
Crimp Tool 231648-1
or equivalent
PAIR 1: AUDIO TO MATRIX
PAIR 2: AUDIO FROM MATRIX
PAIR 3: DATA
AUDIO FROM MATRIX -
AUDIO TO MATRIX +
Figure 4. RJ12 Intercom cable wiring diagram

Table of Contents

Related product manuals