EasyManua.ls Logo

Ryobi BT3100 - Featherboard; How to Make a Featherboard; How to Make and to Mount; How to Mount a Featherboard

Ryobi BT3100
52 pages
Print Icon
To Next Page IconTo Next Page
To Next Page IconTo Next Page
To Previous Page IconTo Previous Page
To Previous Page IconTo Previous Page
Loading...
Page 23
OPERATION
FEATHERBOARD
A featherboard is a device used to help control the workpiece
by guiding it securely against the table or fence. Featherboards
are especially useful when ripping small workpieces and for
completing non-through cuts. The end is angled, with a
number of short kerfs to give a friction hold on the workpiece.
Lock it in place on the table with a C-clamp. Test that it could
resist kickback.
WARNING:
Place the featherboard against the uncut portion of the
workpiece, to avoid kickback that could cause serious
personal injury.
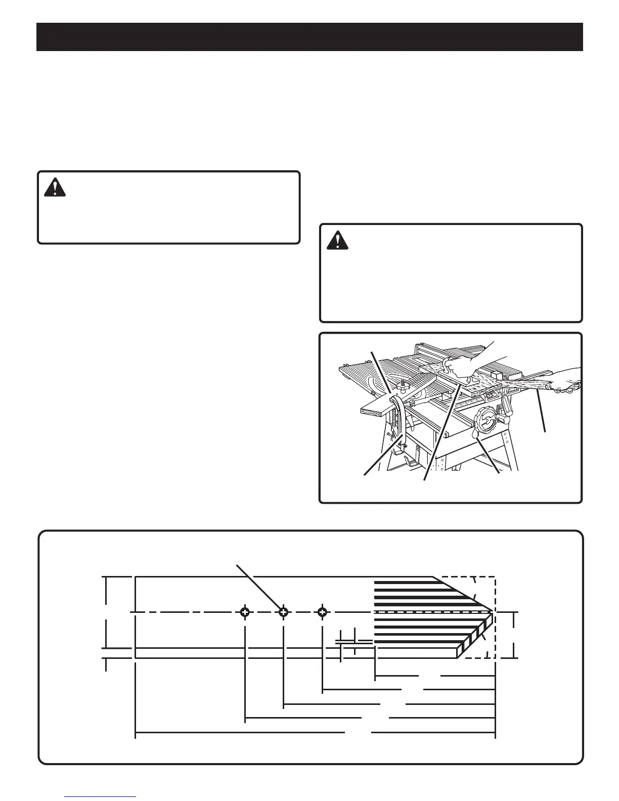
HOW TO MAKE A FEATHERBOARD
See Figure 24.
The featherboard is an excellent project for your BT3100.
Select a solid piece of lumber approximately 3/4 in. thick, 3-5/8 in.
wide and 18 inches long. Mark the center of the width on one
end of the stock. Miter one-half of the width to 30° and miter
the other half of the same end to 45°. See page 28 for
information on miter cuts. Mark the board from the point at 6
in., 8 in., 10 in. and 12 in. Drill a 3/8 in. hole at the 8 in., 10
in., and 12 in. marks as indicated in figure 24. Prepare the
saw for ripping as discussed on page 28. Set the rip fence to
allow approximately a 1/4 in. "finger" to be cut in the stock.
Feed the stock only to the mark previously made at 6 inches.
Turn the saw OFF and allow the blade to completely stop
rotating before removing the stock. Reset the rip fence and
cut spaced rips into the workpiece to allow approximately
1/4 in. fingers and 1/8 in. spaces between the fingers.
HOW TO MOUNT A FEATHERBOARD
Remove the adjusting clamp knob, bolt and washer from the
Miter Fence Holder. Place the bolt through one of the holes
in the featherboard. Positioning the featherboard will depend
on the placement of the bolt and the position of the sliding
miter table on the rails. Place the washer on the bolt and
attach the adjusting clamp knob, loosely. Position the
featherboard with the hex head of the bolt in the miter table
slot but do not tighten. Completely lower the saw blade.
Position the rip fence to the desired adjustment for the cut to
be performed and lock. Place the workpiece against the
fence and over the saw blade area. Adjust the featherboard
to apply resistance to the workpiece just forward of the blade.
Securely tighten the adjusting clamp knob to secure the
featherboard in place. Attach a C-clamp to further secure the
featherboard to the edge of the Sliding Miter Table.
WARNING:
DO NOT locate the featherboard to the rear of the
workpiece. Kickback can result from the featherboard
pinching the workpiece and binding the blade in the saw
kerf if positioned improperly. Failure to heed this warning
can result in serious personal injury.
Fig. 24
3/8 INCH DIAMETER
1/8 in.
1/4 in.
3/4 in.
3-5/8 in.
1-13/16 in.
30°
45°
6 in.
8 in.
10 in.
12 in.
18 in.
PUSH BLOCK
Fig. 23
“C” CLAMP
FEATHERBOARD
PUSH STICK
BEVEL LOCKING LEVER

Table of Contents

Related product manuals