EasyManua.ls Logo

Ryobi TSS121 - Page 54

Ryobi TSS121
116 pages
Print Icon
To Next Page IconTo Next Page
To Next Page IconTo Next Page
To Previous Page IconTo Previous Page
To Previous Page IconTo Previous Page
Loading...
16 − Français
TRACER DES TROUS À
CES EMPLACEMENTS
SELON LE GABARIT
DE TROUS
SURFACE DE
FIXATION
TRACER DES TROUS À
CES EMPLACEMENTS
SELON LE GABARIT
DE TROUS
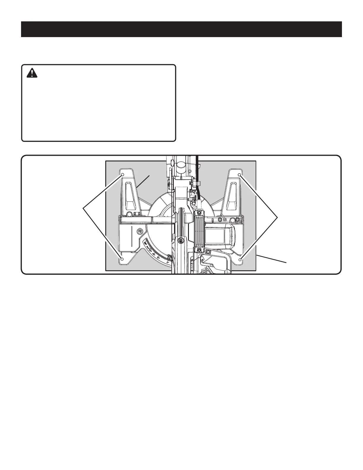
Fig. 9
BASE DE LA
SCIE
TROUS DE FIXATION
Voir la figure 9.
AVERTISSEMENT :
Avant d’entreprendre toute opération de coupe, assujettir
ou boulonner la scie à onglets sur le plan de travail ou
un stand approuvé pour scie à onglets. Si on utilise un
support de scie à onglet, lire le manuel d’utilisation et
suivre les instructions pour le support de scie à onglet. Ne
jamais utiliser la scie à onglets sur le sol ou en se tenant
accroupi. Le non respect de cette mise en garde peut
entraîner des blessures graves.
La scie à onglets composés doit être montée solidement
sur un plan de travail ferme, tel qu’un établi, planche de
montage, ou un stand pour scie à onglets. La base de la
scie possède quatre trous de montage. Les boulons ou vis
doivent être assez longs pour traverser la base de la scie,
les rondelles frein, les écrous et l’établi. Serrer les boulons
ou vis fermement.
La figure 9 illustre la configuration des trous pour l’installation
sur un établi. Une fois la scie installée, vérifier soigneusement
l’établi pour s’assurer qu’aucun mouvement ne peut se
produire pendant l’utilisation. Si l’établi bascule, glisse ou se
déplace, l’assujettir sur le sol avant d’utiliser la scie.
ASSEMBLAGE

Related product manuals