EasyManua.ls Logo

Ryobi TSS121 - Page 92

Ryobi TSS121
116 pages
Print Icon
To Next Page IconTo Next Page
To Next Page IconTo Next Page
To Previous Page IconTo Previous Page
To Previous Page IconTo Previous Page
Loading...
16 − Español
SEÑALE EL CENTRO
DE LOS AGUJEROS EN
ESTOS LUGARES
SEÑALE EL CENTRO
DE LOS AGUJEROS EN
ESTOS LUGARES
SUPERFICIE
DE MONTAJE
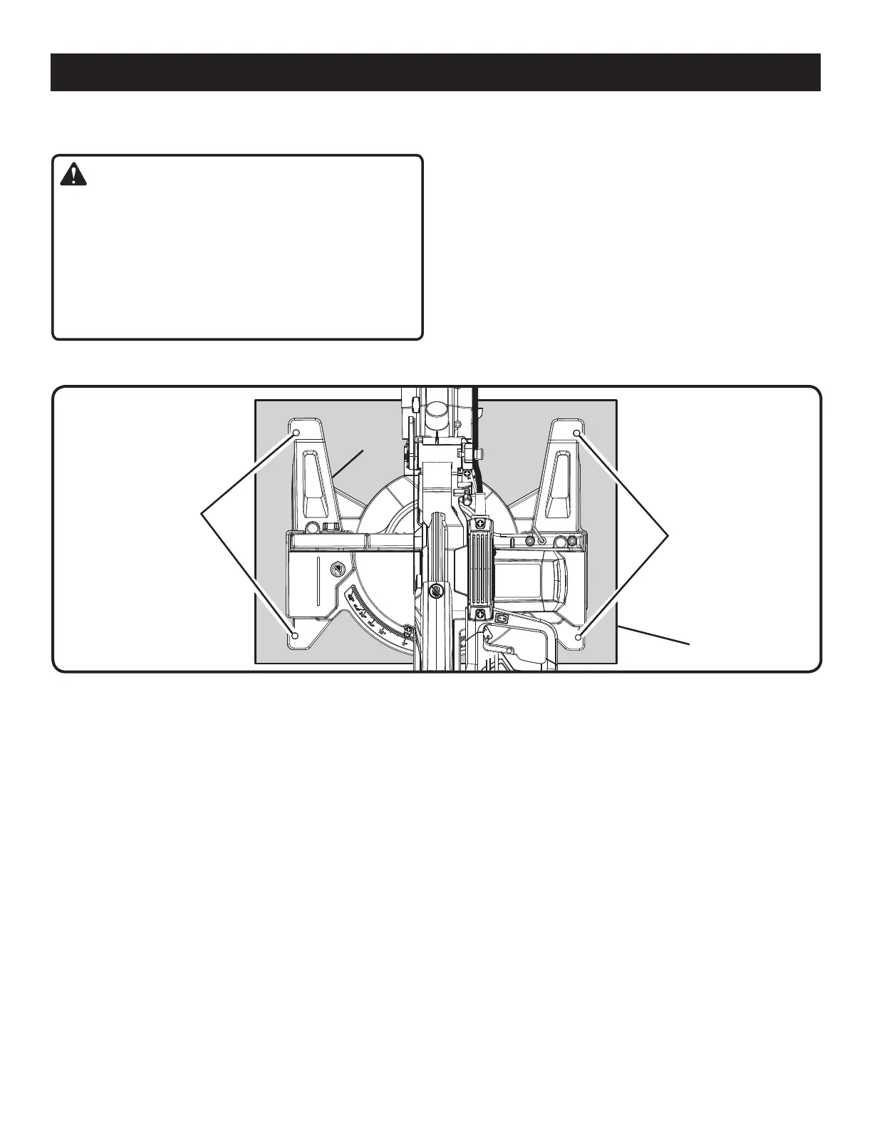
Fig. 9
BASE
DE LA
SIERRA
ARMADO
AGUJEROS DE MONTAJE
Vea la figura 9.
ADVERTENCIA:
Antes de iniciar cualquier operación de corte, sujete con
prensa(s) o atornille la sierra ingleteadora al banco de
trabajo o pedestal para sierra ingleteadora aprobado.
Si se utiliza un pedestal para sierra ingleteadora, lea el
manual del operador y siga las instrucciones del pedestal.
Nunca utilice la sierra ingleteadora en el piso o estando
en cuclillas. La inobservancia de esta advertencia puede
causar lesiones corporales serias.
La sierra ingleteadora compuesta debe montarse en una
superficie de soporte firme, p. ej., un banco de trabajo, una
plataforma de montaje o un pedestal de patas. La base de la
sierra tiene cuatro orificios de montaje. Si se usan pernos o
tornillo, deben tener la longitud suficiente para la base de la
sierra, las arandelas de seguridad, las tuercas hexagonales y
el grosor del banco de trabajo o de cualquier otra superficie
del montaje. Apriete firmemente todos los tornillos.
En la figura 9 aparecen los agujeros para el montaje en un
banco de trabajo. Revise cuidadosamente el banco de tra-
bajo después de montar la unidad para asegurarse de que
no ocurra ningún durante el uso de la misma. Si el banco de
trabajo se inclina, desliza o camina, asegúrelo al piso antes
de utilizar la unidad.

Related product manuals