EasyManua.ls Logo

SAMIX ES500 - Page 20

SAMIX ES500
50 pages
Print Icon
To Next Page IconTo Next Page
To Next Page IconTo Next Page
To Previous Page IconTo Previous Page
To Previous Page IconTo Previous Page
Loading...
SAMIX
®
ES500
20
1
2
5
4
3 6
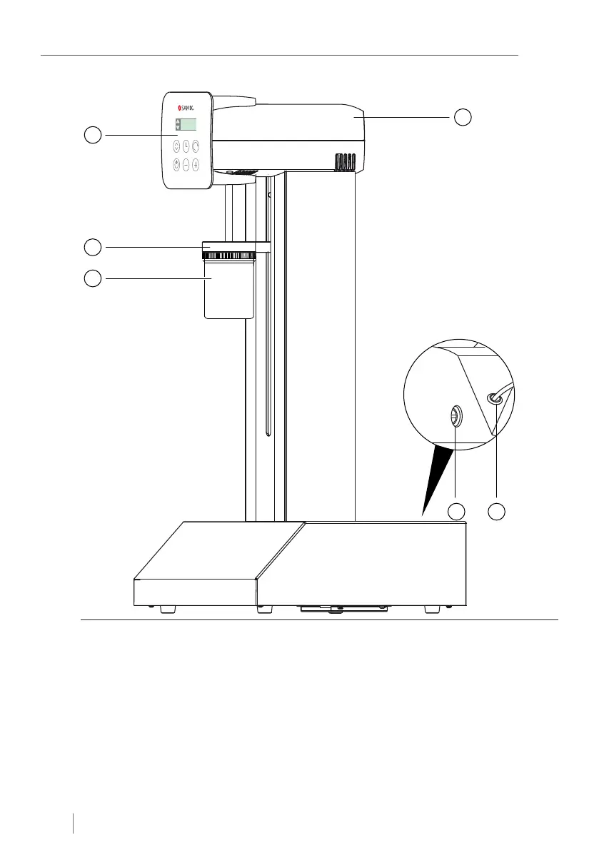
Fig. 6: SAMIX
®
ES500
1 Drive head 4 Oscillation arm
2 Control panel and display 5 Mixing unit
3 Power switch 6 Power cord