EasyManua.ls Logo

Samsung RB2155BB - Page 37

Samsung RB2155BB
62 pages
Print Icon
To Next Page IconTo Next Page
To Next Page IconTo Next Page
To Previous Page IconTo Previous Page
To Previous Page IconTo Previous Page
Loading...
37
Diagnostics
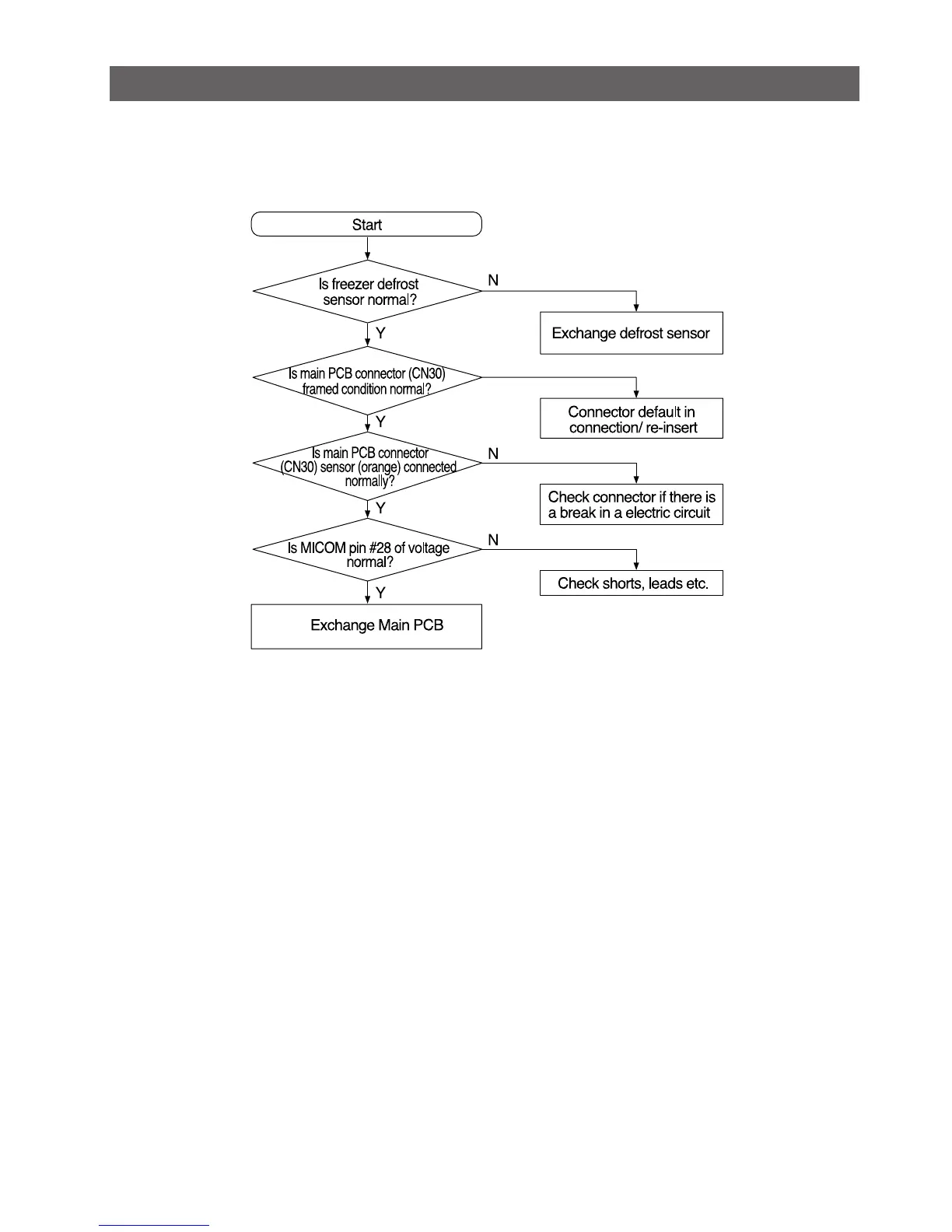
5) If the defrost sensor of the freezer has trouble.

Related product manuals