EasyManua.ls Logo

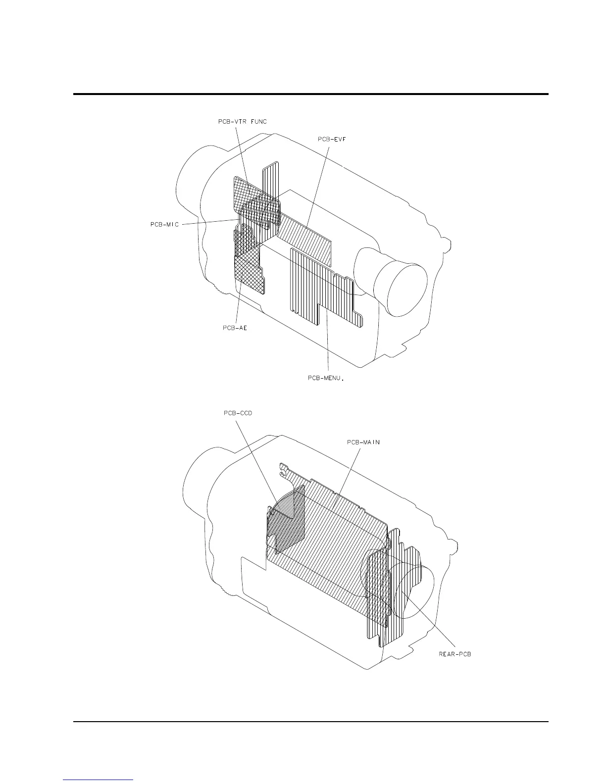
Samsung SCL100 - Circuit Boards Location

Samsung SCL100
144 pages
Print Icon
To Next Page IconTo Next Page
To Next Page IconTo Next Page
To Previous Page IconTo Previous Page
To Previous Page IconTo Previous Page
Loading...
Disassembly and Reassembly
4-12 Samsung Electronics
4-2 Circuit Boards Location
Fig. 4-12 Circuit Boards Location

Related product manuals