EasyManua.ls Logo

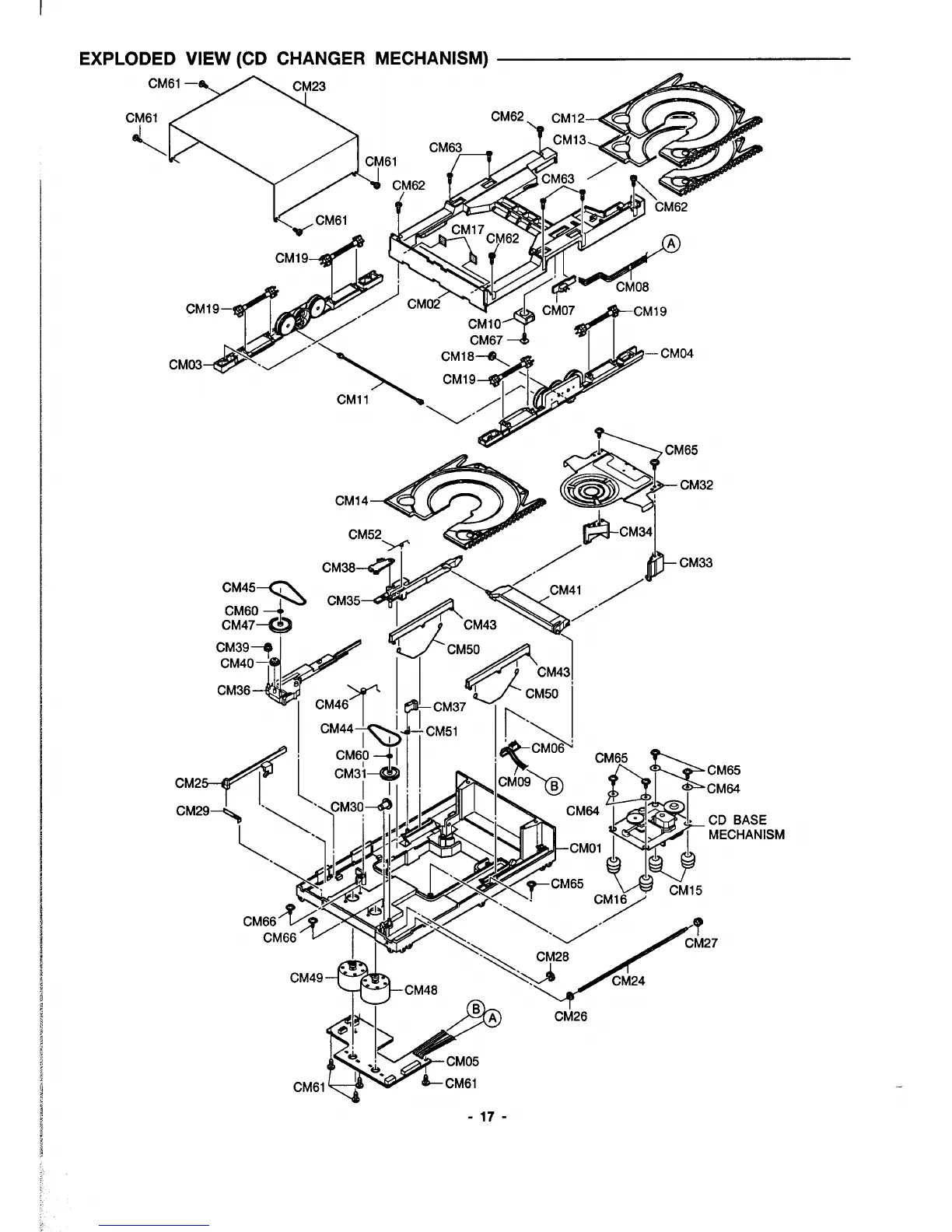
Sanyo DC-C70 - Exploded View: CD Changer Mechanism

Sanyo DC-C70
39 pages
Print Icon
To Next Page IconTo Next Page
To Next Page IconTo Next Page
To Previous Page IconTo Previous Page
To Previous Page IconTo Previous Page
Loading...
EXPL
.ODED VIEW (CD CHANGER MECHANISM)
c“”-~
A
‘“11
CM14+
-17-

Related product manuals