EasyManua.ls Logo

Sanyo DC-C70 - Amplifier)

Sanyo DC-C70
39 pages
Print Icon
To Next Page IconTo Next Page
To Next Page IconTo Next Page
To Previous Page IconTo Previous Page
To Previous Page IconTo Previous Page
Loading...
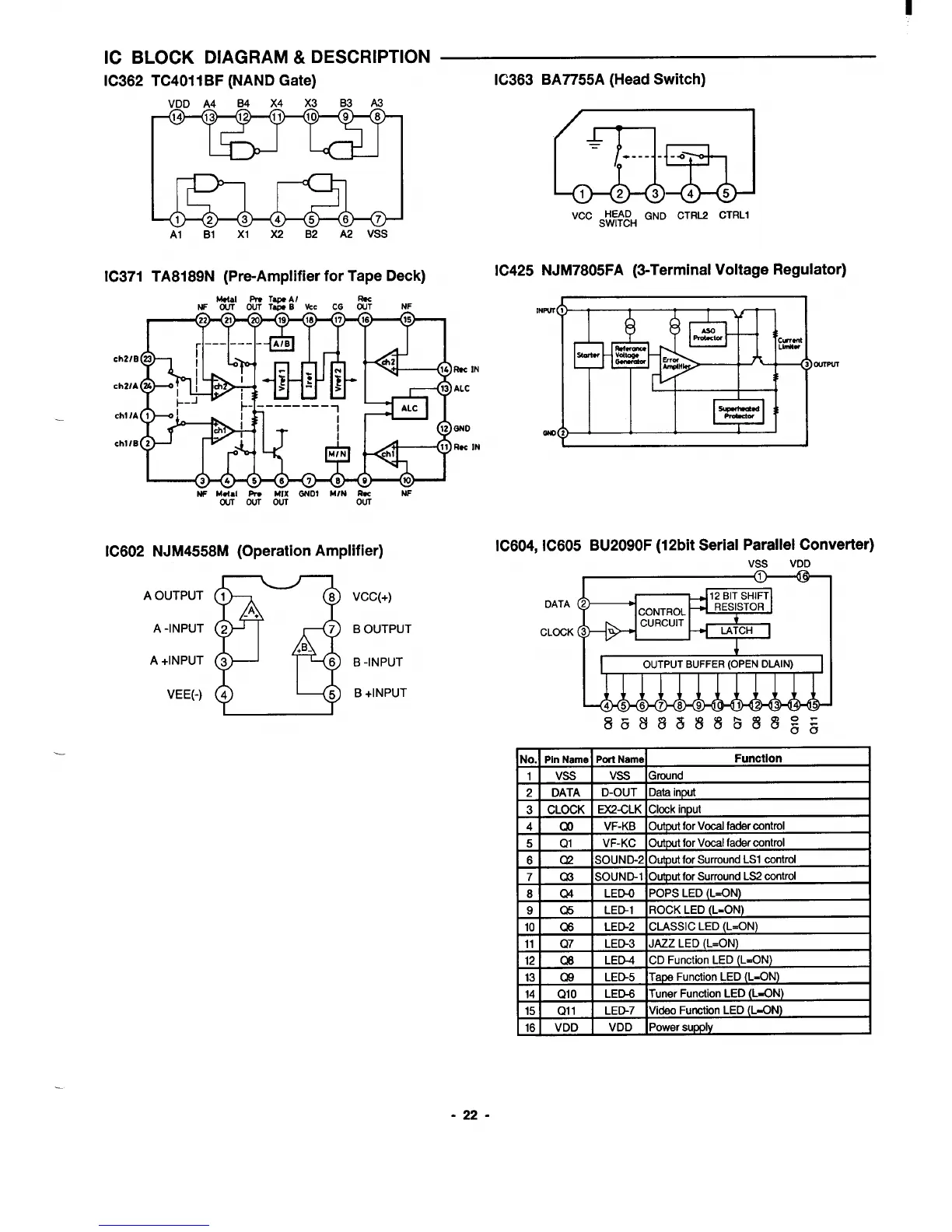
IC BLOCK DIAGRAM& DESCRIPTION
IC362 TC4011 BF (NAND Gate)
VDD A4 04 X4 X3 B3 A3
~
Al B1 Xl X2 B2
M
Vss
IC371 TA8189N (Pre-Amplifier for Tape Deck)
Mdal % TaPA/
Ru
W OUT WTTaPDB
*C
CG WT
NF
%’
1
K
ch2/B 23
/ l_>lvl~ 1 -
ch2/A 2A
!~
;-J
chl /A 1
.
Ch’
chl/B 2
.k
I .1.--1. --1-- I
11.1
~“; WE “’
I%@
14 R@cIN
13 ALC
. ---—————
1
ALC
h
12 GNo
T r’ Q
11 Rcc IN
MIN hl
IC602 NJM4558M (Operation Amplifier)
IC363 BA7755A (Head Switch)
Vcc S\~& GND CTRL2 CTRL1
IC425 NJM7805FA (3-Terminal Voltage Regulator)
IC604, IC605 BU2090F (12bit Serial Parallel Converter)
Vss VDD
A OUTPUT
A -INPUT
A +INPUT
VEE(-)
I?21
1
8
A
-+
2
7
B
+-
3 6
4 5
Vcc(+)
B OUTPUT
B -INPUT
B +INPUT
I
No<
1
2
3
4
5
6
7
8
9
10
11
12
13
14
DATA
CLOCK
PinName Por2Name
Function
Vss
Vss Ground
DATA
D-OUT Datainput
CLOCK EX2-CLK Clockinput
Qo
VF-KB output
forVocalfadercontrol
Q1
VF-KC
Output for Vocal fader control
02
SOUND-2 Output for Surround LS1 control
Cx3
SOUND-1
Output for Surround LS2 control
Q4
LED-O POPS LED (L=ON)
C5
LED-1 ROCK LED (L-ON)
Q6
LED-2 CLASSIC LED (L-ON)
Q7
LED-3 JAZZ LED (L=ON)
C8
LED-4 CD Function LED (L=ON)
Q9
LED5 Tap Function LED (L-ON)
Q1O
LED-6 Tuner Function LED (L-ON)
15 I
Qll ‘1 LED-7 Ivideo Function LED (L-ON)
16 I
VDD VDD lPower supply
I
-22-

Related product manuals