EasyManua.ls Logo

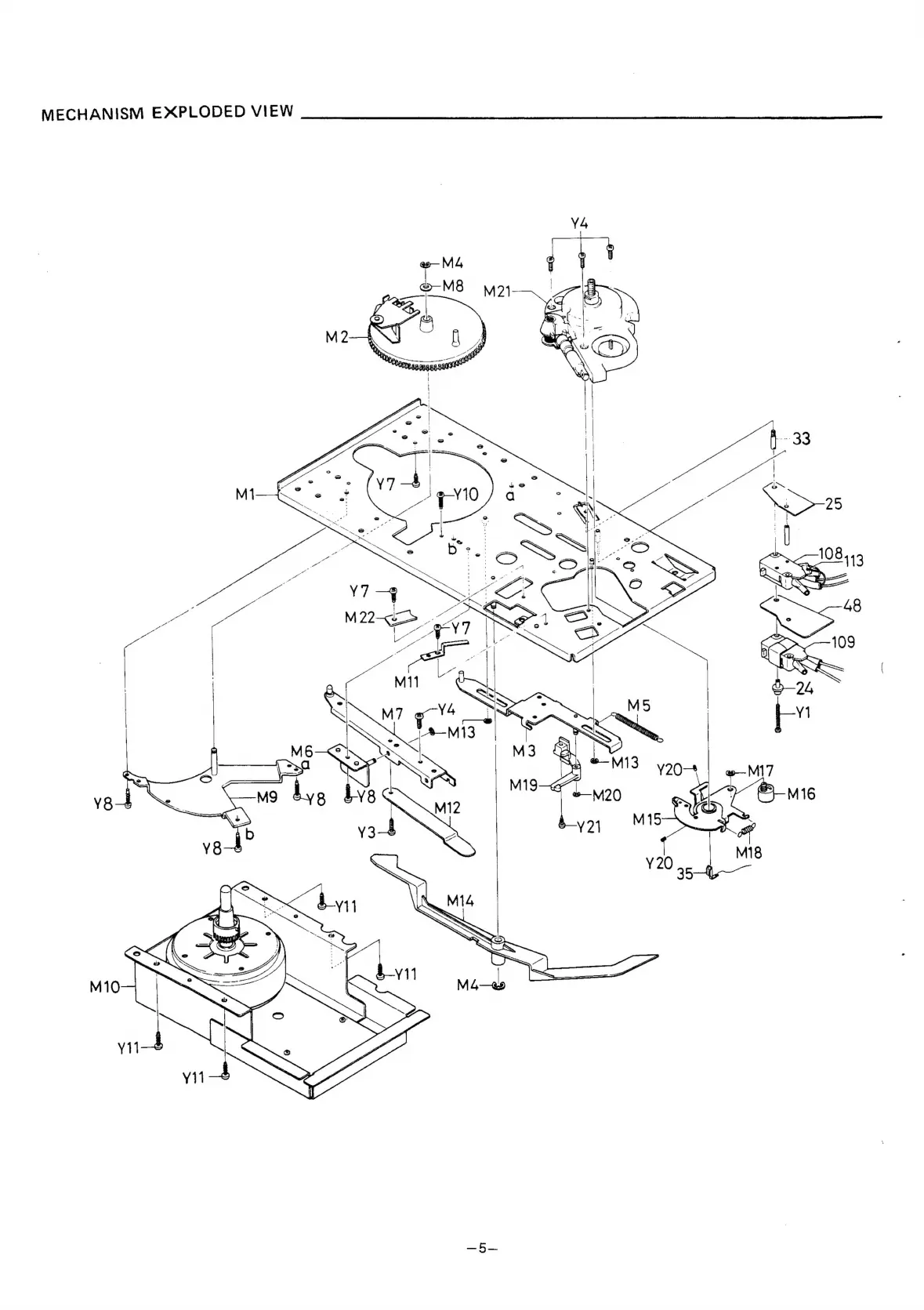
Sanyo expert TP-1012 - Mechanism Exploded View; Arm Exploded View

Sanyo expert TP-1012
9 pages
Print Icon
To Next Page IconTo Next Page
To Next Page IconTo Next Page
To Previous Page IconTo Previous Page
To Previous Page IconTo Previous Page
Loading...
MECHANISM
EXPLODED
VIEW

Related product manuals