EasyManua.ls Logo

saro EB15 - Explosionszeichnung mit Legende

saro EB15
Print Icon
To Next Page IconTo Next Page
To Next Page IconTo Next Page
To Previous Page IconTo Previous Page
To Previous Page IconTo Previous Page
Loading...
Seite 12 von 27
Stand 05/23 SvN
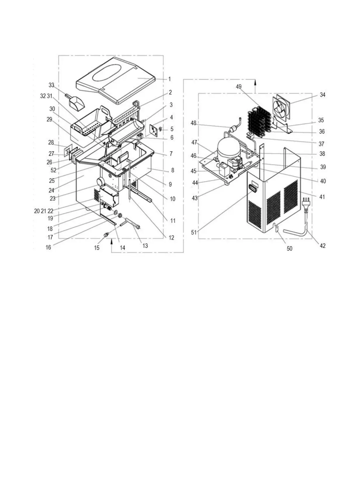
EXPLOSIONSZEICHNUNG:
EXPLOSIONSZEICHNUNG - Legende
1 Complete door 1 Komplette Tür
2 Evaporator 2 Verdampfer
3 Water box 3 Wasserwanne (325-5115)
4 Micro switch 4 Mikroschalter (325-5045)
5 Blocking piece 5 Hebel
6 Inner Liner cover 6 Abdeckung der Innenverkleidung
7 Inner Liner 7 Innenverkleidung
8 Inner Liner insulation 8 Innenisolierung
9 Sheet 9 Platte aus Blech
10 Water line inlet pipe 10 Wasserleitungseinlaufrohr
11 Left corner support 11 Bügel links
12 Silicone tube 12 Schlauch
13 T pipe for water drainage 13 T-Schlauch
14 Right corner support 14 Verstärkung rechte Ecke
15 Water outlet srewing 15 Ablaufverschraubung (325-5041)
16 Nut for water outle 16 Mutter für Ablaufverschraubung
17 Seal washer for water outlet pipe 17 Dichtung für Ablaufverschraubung
18 Drainage 18 Auslauf
19 Filter screen 19 Filter/Sieb (325-5049)
20 Box for main control board 20 Box für Steuerplatine

Related product manuals