EasyManua.ls Logo

saro EB15 - Exploded View with Legend

saro EB15
Print Icon
To Next Page IconTo Next Page
To Next Page IconTo Next Page
To Previous Page IconTo Previous Page
To Previous Page IconTo Previous Page
Loading...
Seite 25 von 27
Stand 05/23 SvN
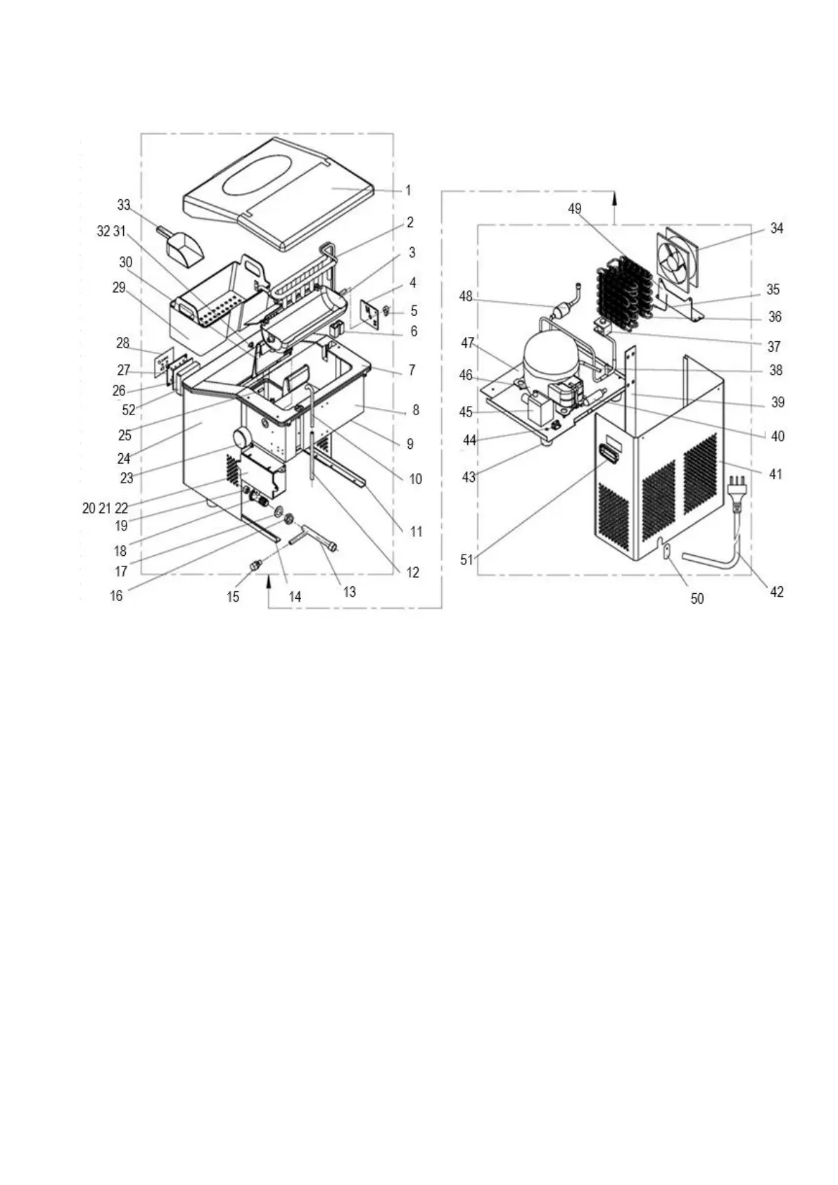
EXPLOSION DRAWING:
EXPLOSION MARK - Legend
1 Complete door 27 Fixing for operation board
2 Evaporator 28 Operation board sticker
3 Water box 29 Ice storage basket
4 Micro switch 30 Panel
5 Blocking piece 31 Fixing of ice level sensor
6 Inner liner cover 32 Ice level sensor
7 Inner liner 33 Ice scoop
8 Inner liner insulation 34 Condenser fan
9 Sheet 35 Condensing Sensor
10 Water line inlet pipe 36 Condenser
11 Left corner support 37 Heatgasvalve
12 Silicone tube 38 Process tube
13 T pipe for water drainage 39 Back reinforce panel
14 Right corner support 40 Filter
15 Water outlet srewing 41 Back panel
16 Nut for water outlet 42 Power cord
17 Seal washer for water outlet pipe 43 Feet
18 Drainage 44 Power cord clip
19F ilter screen 45 Water pump
20 Box for main control board 46 Compressor

Related product manuals