EasyManua.ls Logo

Sartorius Master Pro LP6200S - Page 54

Sartorius Master Pro LP6200S
64 pages
Print Icon
To Next Page IconTo Next Page
To Next Page IconTo Next Page
To Previous Page IconTo Previous Page
To Previous Page IconTo Previous Page
Loading...
54
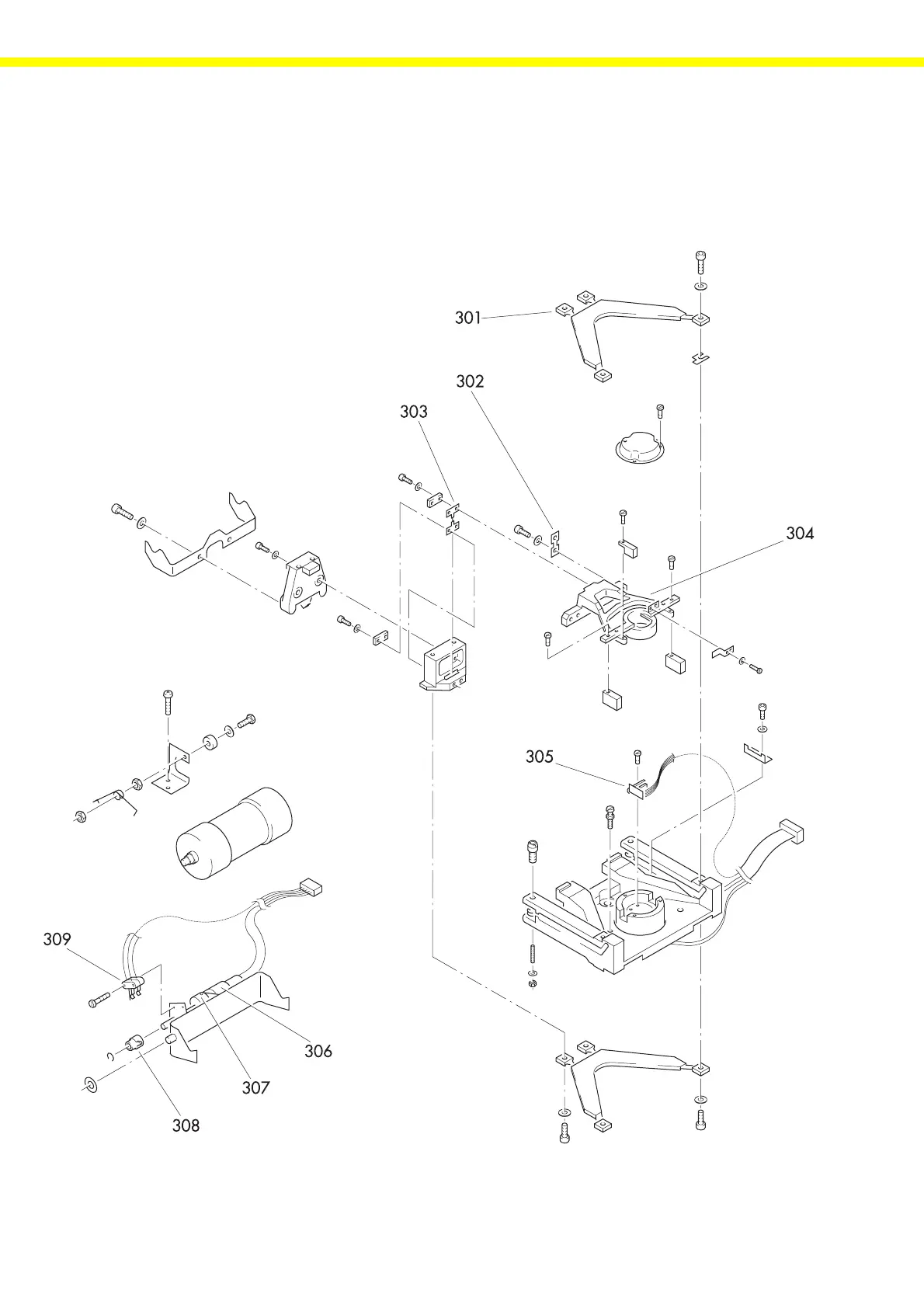
LP / LA - Exploded-View Diagram 3
LP_exp_3.EPS

Table of Contents

Related product manuals