EasyManua.ls Logo

Sauder 411606 - Page 8

Sauder 411606
28 pages
Print Icon
To Next Page IconTo Next Page
To Next Page IconTo Next Page
To Previous Page IconTo Previous Page
To Previous Page IconTo Previous Page
Loading...
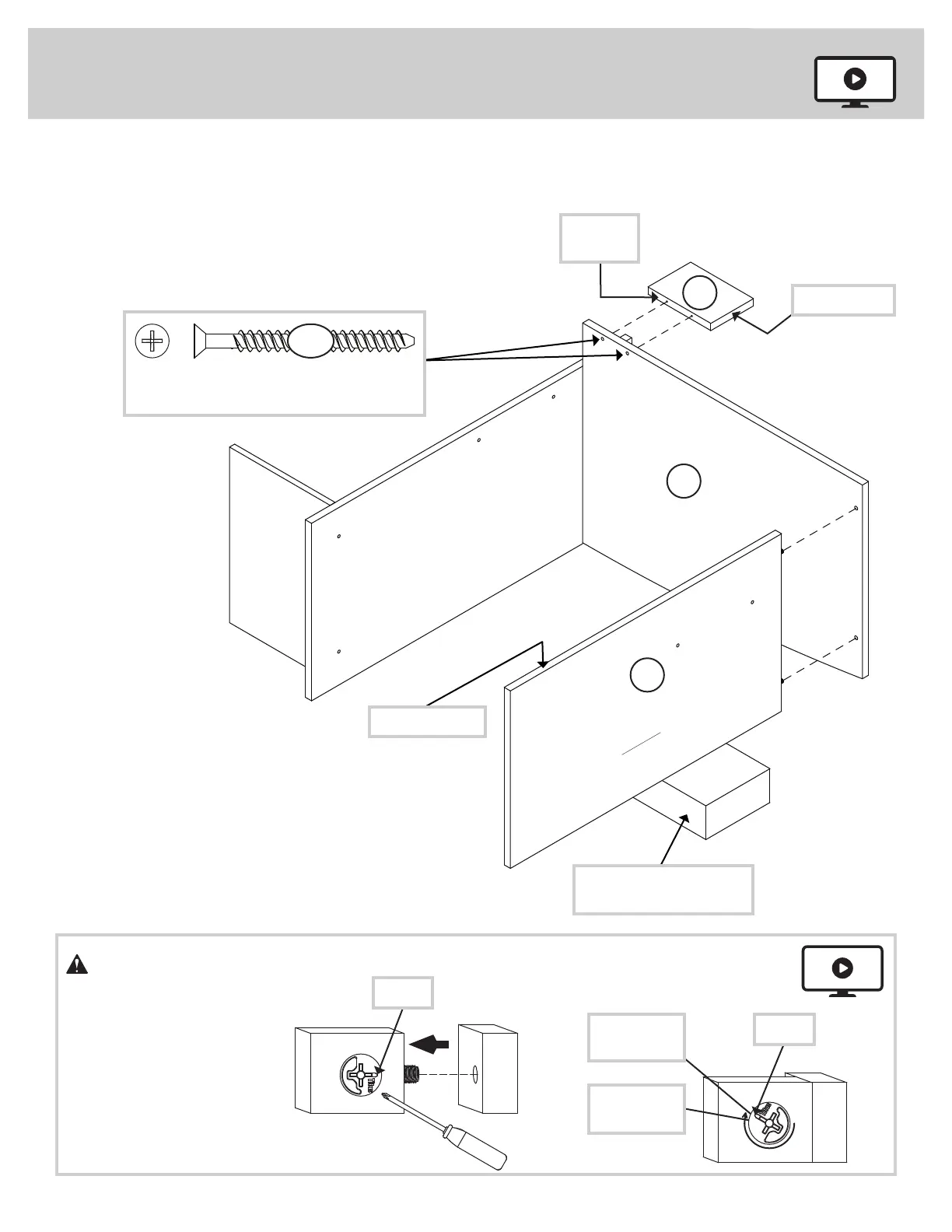
Step 4
å
Fasten the SMALL BACK (H3) to the DESK TOP (D3). Use
two BLACK 1-15/16" FLAT HEAD SCREW (113S).
å
Fasten the LEFT END (B3) to the DESK TOP (D3). Tighten
two HIDDEN CAMS.
411606 www.sauder.com/servicePage 8
D3
H3
Start Tighten
Arrow
Minimum
190 degrees
Caution
Risk of damage or
injury. HIDDEN CAMS
must be completely
tightened. HIDDEN
CAMS that are not
completely tightened
may loosen, and parts
may separate. To
completely tighten:
Arrow
Maximum
210 degrees
Edge with
two holes
Finished edge
For support, place packing
foam and magazines here.
B3
BLACK 1-15/16" FLAT HEAD SCREW
(2 used in this step)
113S
Surface without HIDDEN CAMS
Unfi nished edge

Related product manuals