EasyManua.ls Logo

Scotsman MF 88 - Principles of Operation - How it Works; Icemaker Functionality; Refrigeration Cycle Explained

Scotsman MF 88
21 pages
Print Icon
To Next Page IconTo Next Page
To Next Page IconTo Next Page
To Previous Page IconTo Previous Page
To Previous Page IconTo Previous Page
Loading...
Page 9
Page 9
SECTION III
PRINCIPLES OF OPERATION - How it Works
ICEMAKER:
Water
The water supply flows from the building source
through the enters at the Cabinet fitting and on to
the Water Reservoir.
The water Reservoir functions to maintain a
constant water level inside the Freezer Assembly.
Water from the Water Reservoir enters at the
bottom of the freezer Assembly and is changed
into ice by low temperatures inside the freezer.
Ice
A stainless steel Auger within the Freezer is
powered by a separate drive motor through a
speed reducer and the rotating Auger carriers
the ice upward to the Ice Breaker assy where
excess water is pressed out of the ice, as it is
extruded or flaked out through the Ice breaker.
The flake ice into spout in diverted out through
the ice discharge opening.
Once unit is electrically connected, after 15
minutes starts the automatic and continuous
icemaking process. When the Ice touches the
Thermostatic Control Bulb, the sensing bulb
shuts off the compressor first and 15 minutes
later the drive motor.
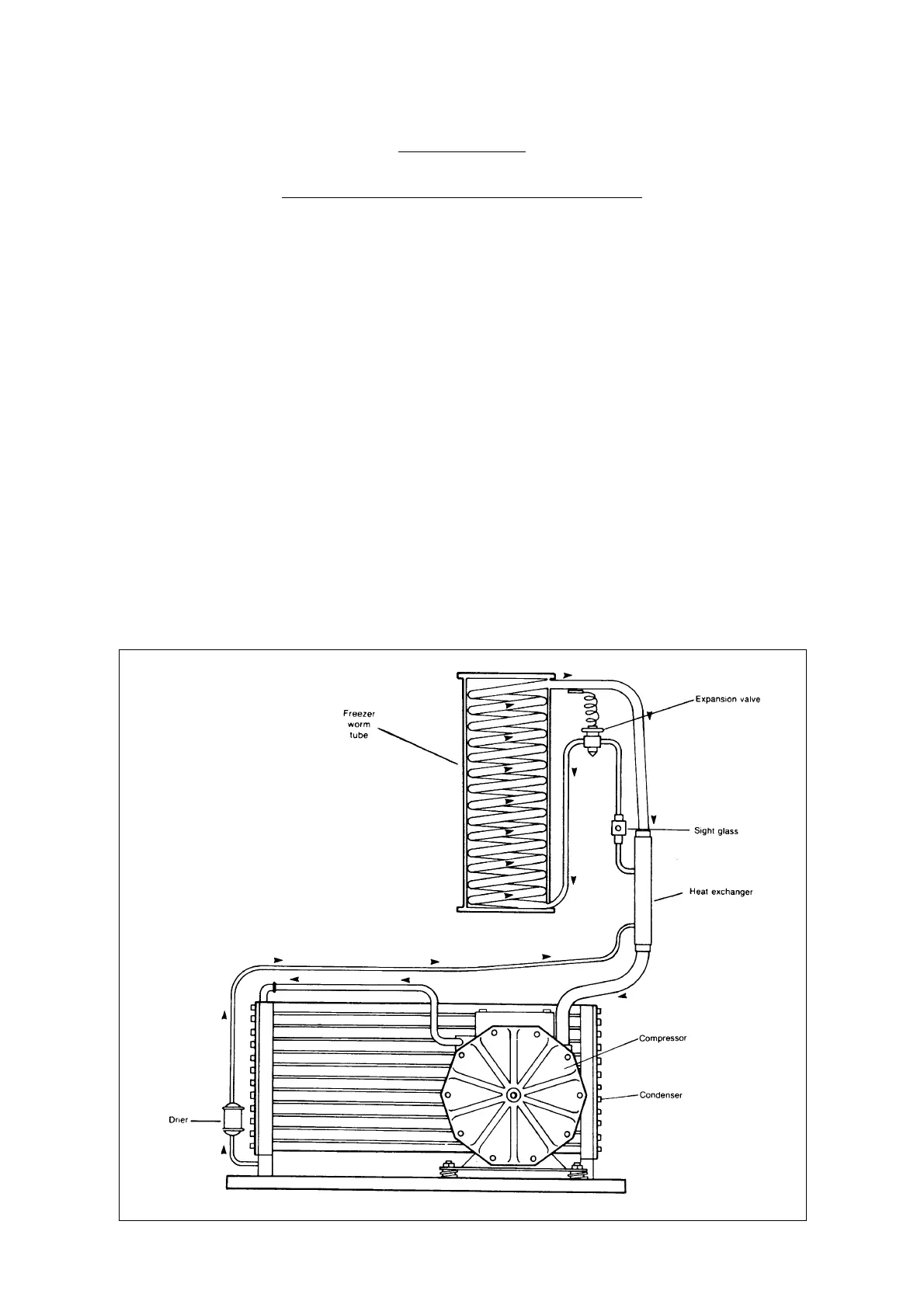
Refrigeration
At beginning the refrigerant R 404 A is compres-
sed by the compressor into a high temperature
gas.
The discharge line directs this gas to the
condenser. At the condenser (air or water cooled),
the gas is cooled by either air or water and it then
condenses into liquid.
This high pressure liquid then goes through the
liquid line to the expansion valve. The expansion
valve meters liquid refrigerant into the evaporator.
At the evaporator, the refrigerant enters an area
of relatively low pressure where it can easily
"boil-off" or evaporate.

Related product manuals