EasyManua.ls Logo

Searey LSA - Page 27

Default Icon
93 pages
Print Icon
To Next Page IconTo Next Page
To Next Page IconTo Next Page
To Previous Page IconTo Previous Page
To Previous Page IconTo Previous Page
Loading...
Searey LSA Pilot’s Operating Handbook Version 5.0, Revision 8
22
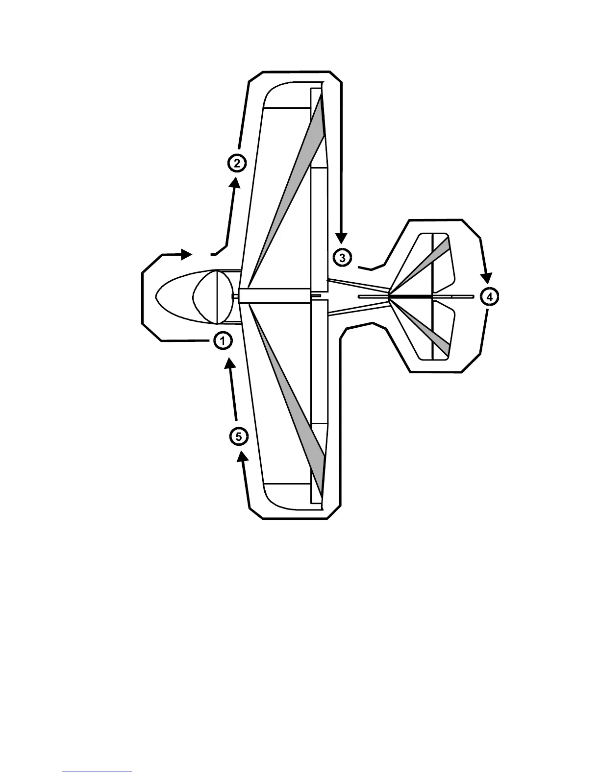
Figure 1 Preflight Inspection

Table of Contents