EasyManua.ls Logo

Sensitron SMART 3 - 4-20 mA Output Signal Adjustment

Sensitron SMART 3
14 pages
Print Icon
To Next Page IconTo Next Page
To Next Page IconTo Next Page
To Previous Page IconTo Previous Page
To Previous Page IconTo Previous Page
Loading...
MTEX2082 rev3.1 04/09/2019 Pag. 11 di 14
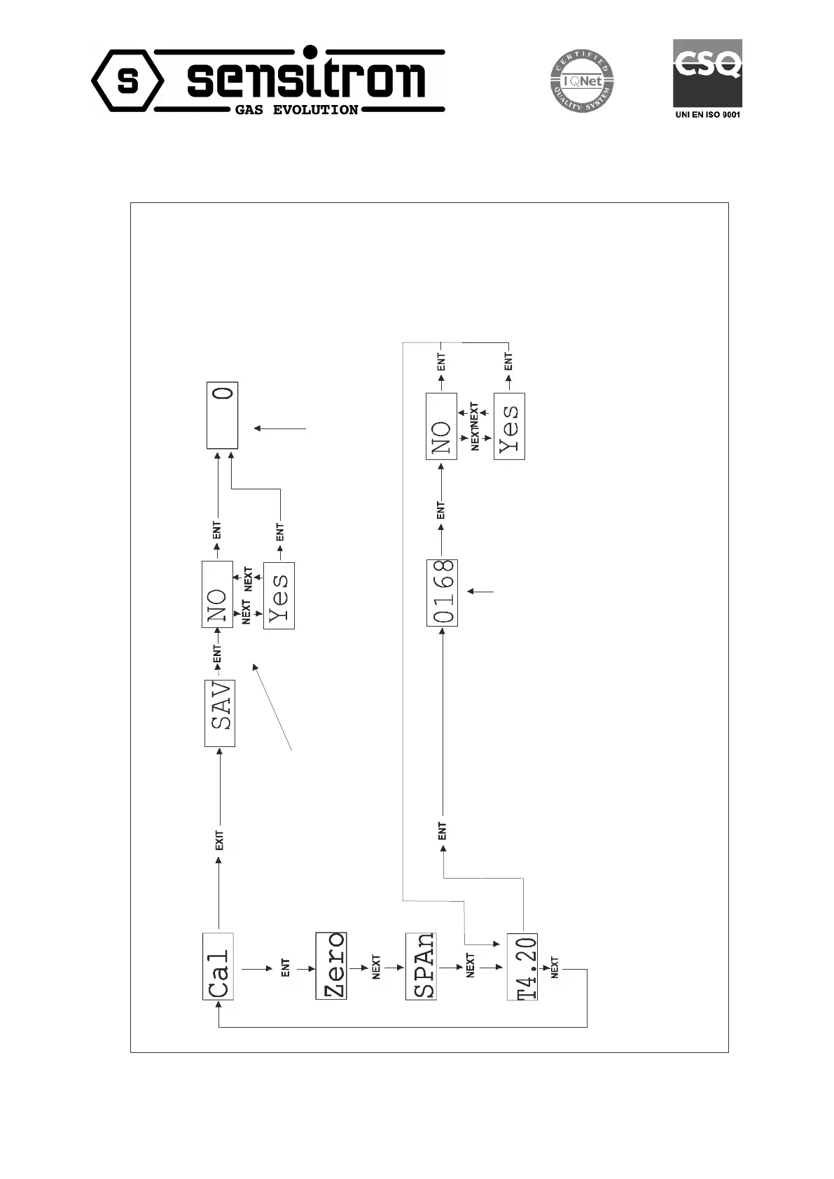
3.6 Taratura dell’uscita 4-20 mA
3.6 4-20 mA output adjustment
(
P
E
R
3
S
E
C
O
N
D
I
/
F
O
R
3
S
E
C
O
N
D
S
)
I
L
V
A
L
O
R
E
V
I
S
U
A
L
I
Z
Z
A
T
O
E
I
L
4
m
A
I
N
P
U
N
T
I
.
C
O
L
L
E
G
A
R
E
U
N
M
I
L
L
I
A
M
P
E
R
O
M
E
T
R
O
A
L
L
U
S
C
I
T
A
I
N
C
O
R
R
E
N
T
E
D
E
L
R
I
V
E
L
A
T
.
E
P
R
E
M
E
R
E
N
E
X
T
E
D
E
X
I
T
F
I
N
O
A
P
O
R
T
A
R
E
I
L
V
A
L
O
R
E
A
4
m
A
.
T
H
E
V
A
L
U
E
D
I
S
P
L
A
Y
E
D
I
S
T
H
E
4
m
A
I
N
P
O
I
N
T
S
.
C
O
N
N
E
C
T
A
M
I
L
L
I
A
M
P
E
R
O
M
E
T
E
R
T
O
T
H
E
4
m
A
O
U
T
P
U
T
O
F
T
H
E
D
E
T
E
C
T
O
R
A
N
D
P
R
E
S
S
N
E
X
T
A
N
D
E
X
I
T
T
O
I
N
C
R
E
A
S
E
A
N
D
D
E
C
R
E
A
S
E
T
H
E
V
A
L
U
E
T
I
L
L
4
m
A
H
A
S
B
E
E
N
A
C
H
I
E
V
E
D
.
(
P
E
R
3
S
E
C
O
N
D
I
/
F
O
R
3
S
E
C
O
N
D
S
)
S
C
E
G
L
I
E
R
E
N
O
P
E
R
N
O
N
S
A
L
V
A
R
E
I
N
U
O
V
I
V
A
L
O
R
I
;
S
C
E
G
L
I
E
R
E
S
I
P
E
R
S
A
L
V
A
R
E
I
N
U
O
V
I
V
A
L
O
R
I
I
M
P
O
S
T
A
T
I
.
C
H
O
O
S
E
N
O
T
O
A
B
O
R
T
T
H
E
N
E
W
P
A
R
A
M
E
T
E
R
C
H
O
O
S
E
S
I
T
O
S
A
V
E
T
H
E
N
E
W
P
A
R
A
M
E
T
E
R
R
I
T
O
R
N
O
A
L
N
O
R
M
A
L
E
F
U
N
Z
I
O
N
A
M
E
N
T
O
.
R
E
T
U
R
N
T
O
T
H
E
N
O
R
M
A
L
O
P
E
R
A
T
I
O
N
M
O
D
E
T
A
R
A
T
U
R
A
D
E
L
L
U
S
C
I
T
A
4
-
2
0
m
A
/
4
-
2
0
m
A
O
U
T
P
U
T
A
D
J
U
S
T
E
M
E
N
T
(
*
)
(
*
)
L
a
t
a
r
a
t
u
r
a
d
e
l
g
e
n
e
r
a
t
o
r
e
d
i
c
o
r
r
e
n
t
e
(
4
-
2
0
m
A
)
è
s
t
a
t
a
e
s
e
g
u
i
t
a
i
n
f
a
s
e
d
i
c
o
l
l
a
u
d
o
d
e
l
r
i
l
e
v
a
t
o
r
e
e
d
o
t
t
i
m
i
z
z
a
t
a
s
u
u
n
a
r
e
s
i
s
t
e
n
z
a
d
i
c
a
r
i
c
o
d
i
2
0
0
o
h
m
(
v
e
d
i
c
e
n
t
r
a
l
i
S
E
N
S
I
T
R
O
N
)
.
A
t
t
u
a
r
e
q
u
e
s
t
a
p
r
o
c
e
d
u
r
a
s
o
l
o
s
e
n
e
l
l
a
c
e
n
t
r
a
l
e
u
t
i
l
i
z
z
a
t
a
,
m
i
s
u
r
a
n
d
o
c
o
n
u
n
m
i
l
l
i
a
m
p
e
r
o
m
e
t
r
o
s
i
r
i
s
c
o
n
t
r
a
u
n
v
a
l
o
r
e
n
o
n
c
o
r
r
e
t
t
o
.
T
h
e
4
-
2
0
m
A
a
d
j
u
s
t
e
m
e
n
t
i
t
h
a
s
b
e
e
n
d
o
n
e
d
u
r
i
n
g
t
h
e
c
o
m
m
i
s
s
i
o
n
i
n
g
o
f
t
h
e
g
a
s
d
e
t
e
c
t
o
r
i
n
t
h
e
l
a
b
o
r
a
t
o
r
y
o
f
t
h
e
m
a
n
u
f
a
c
t
u
r
e
r
a
n
d
w
i
t
h
a
r
e
s
i
s
t
a
n
c
e
l
o
a
d
o
f
2
0
0
o
h
m
.
U
s
e
t
h
i
s
4
-
2
0
m
A
a
d
j
u
s
t
e
m
e
n
t
j
u
s
t
i
f
w
i
t
h
d
i
f
f
e
r
e
n
t
k
i
n
d
o
f
c
o
n
t
r
o
l
u
n
i
t
a
v
a
l
u
e
m
i
s
u
r
e
d
b
y
a
m
i
l
l
i
a
m
p
e
r
o
m
e
t
e
r
i
s
d
i
f
f
e
r
e
n
t
.

Other manuals for Sensitron SMART 3

Related product manuals