EasyManua.ls Logo

Seville Classics OFF65803 - Mounting Seville Classics Ergo Table Top; Top

Seville Classics OFF65803
24 pages
Print Icon
To Next Page IconTo Next Page
To Next Page IconTo Next Page
To Previous Page IconTo Previous Page
To Previous Page IconTo Previous Page
Loading...
13
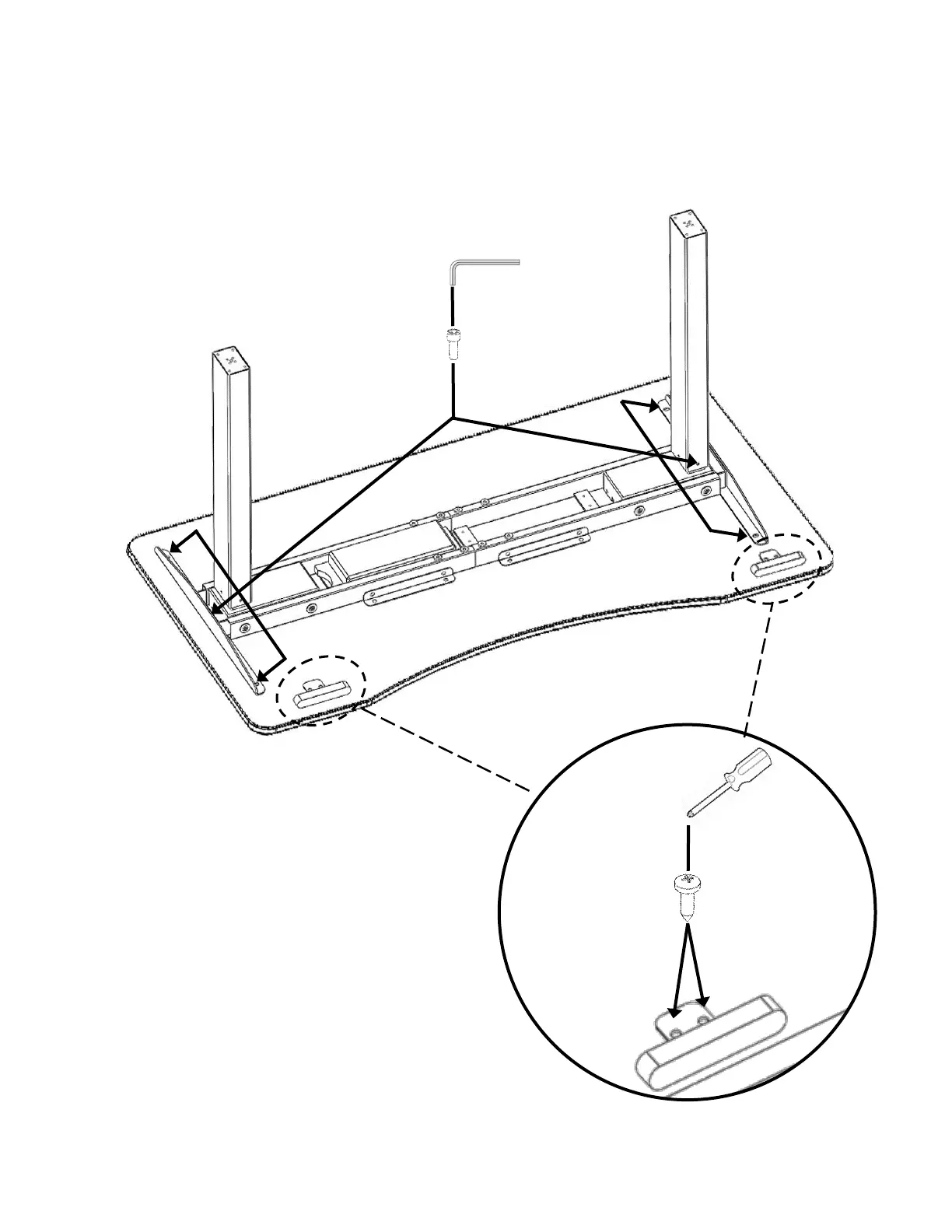
Assembly Instructions: Mounting Ergo Top
STEP 7A. Use three M6x16 BOLTS (L) to secure each SUPPORT BRACKET
(D) with 5mm ALLEN WRENCH (I).
Seville Classics
®
Top
5mm Allen Wrench
M6x16 Bolt
Screw
Screwdriver
Install CONTROLLER (G) to side of
table with pre-drilled holes for
controller.
Attach with two SCREWS (O).
TIP: Use an electric screwdriver to
install screws more quickly.

Related product manuals