EasyManua.ls Logo

Sharp AR-5015 - Automatic Exposure Adjustment

Sharp AR-5015
61 pages
Print Icon
To Next Page IconTo Next Page
To Next Page IconTo Next Page
To Previous Page IconTo Previous Page
To Previous Page IconTo Previous Page
Loading...
26
MAKING COPIES
Automatic exposure adjustment
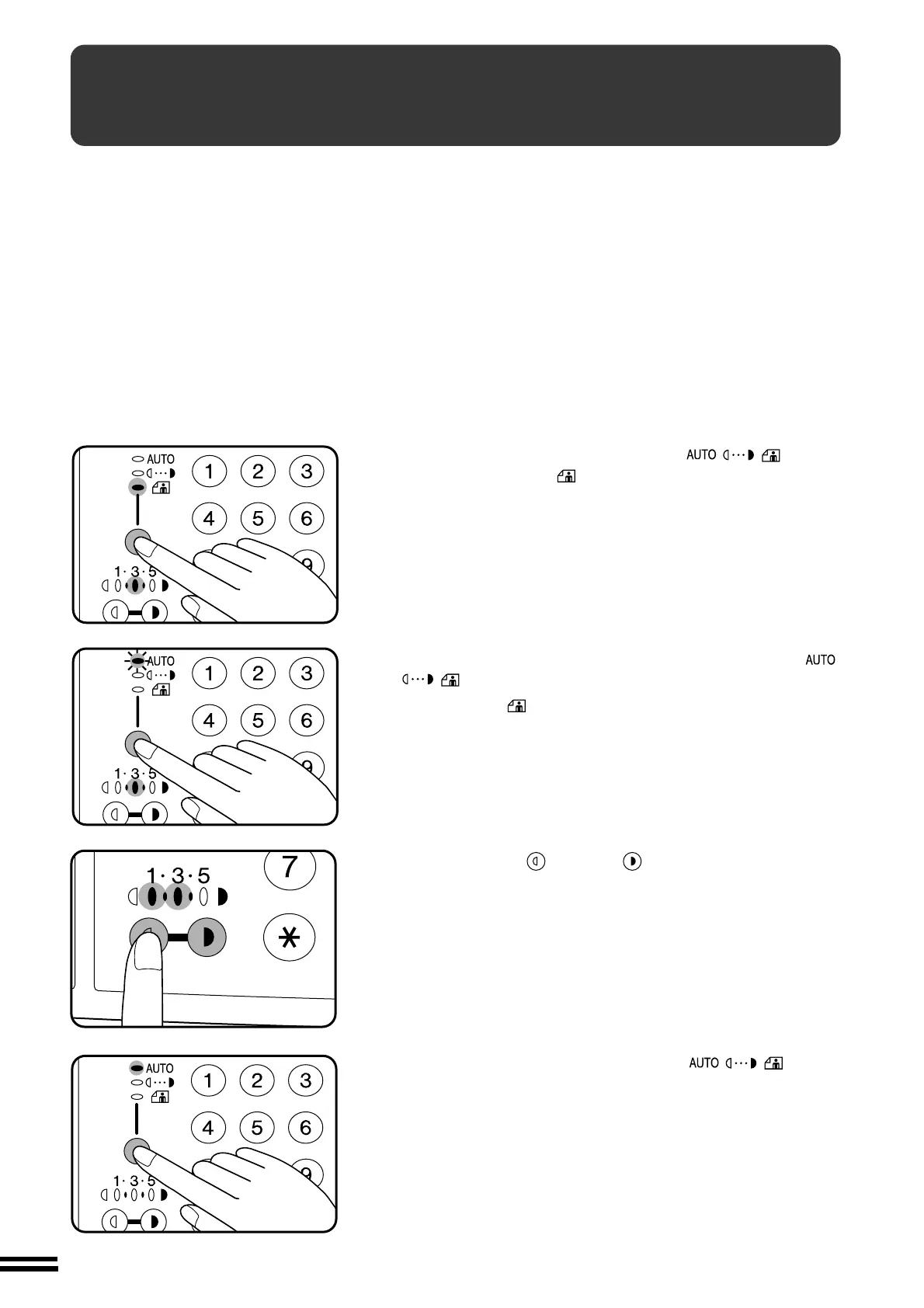
AUTOMATIC EXPOSURE ADJUSTMENT
The automatic exposure level can be adjusted to suit your copying needs.
1
Press the AUTO/MANUAL/PHOTO (
/ / ) key to
select the PHOTO (
) mode.
2
Press and hold down the AUTO/MANUAL/PHOTO (
/
/ ) key for approximately 5 seconds.
The PHOTO (
) indicator will go out and the AUTO indicator will
begin to blink.
One or two exposure indicators corresponding to the current auto-
matic exposure level will light up. The factory default setting is level
“3”.
3
Press the light (
) or dark ( ) key to lighten or darken
the automatic exposure level as desired.
4
Press the AUTO/MANUAL/PHOTO (
/ / ) key.
The AUTO indicator will stop blinking and will light up steadily.
This automatic exposure level will remain in effect until you change
it again by this procedure.
Downloaded from: http://www.usersmanualguide.com/

Other manuals for Sharp AR-5015

Related product manuals