EasyManua.ls Logo

Sharp AR-M150 - CONVENIENT COPY FUNCTIONS; AUTOMATIC TWO-SIDED COPYING

Sharp AR-M150
116 pages
Print Icon
To Next Page IconTo Next Page
To Next Page IconTo Next Page
To Previous Page IconTo Previous Page
To Previous Page IconTo Previous Page
Loading...
24
MAKING A COPY DARKER OR LIGHTER
Automatic exposure adjustment is initially enabled. This function automatically
adjusts the copy image according to the original being copied. If you wish to select
the exposure level yourself, follow the steps below. (Select from two original types
and five exposure levels for each original type.) The exposure level used in
automatic exposure adjustment can also be changed with "AE LEVEL ADJUST" in
the user programs (p.65).
Original types
AUTO ...... Automatic exposure adjustment is enabled and the exposure is
automatically adjusted according to the original being copied. The
exposure is lowered for coloured areas and background shadows.
TEXT....... The exposure is raised for light areas and lowered for dark
backgrounds to make text easier to read.
PHOTO ... Halftones in the photo are reproduced with greater clarity.
1
Check the original and place the original(s).
2
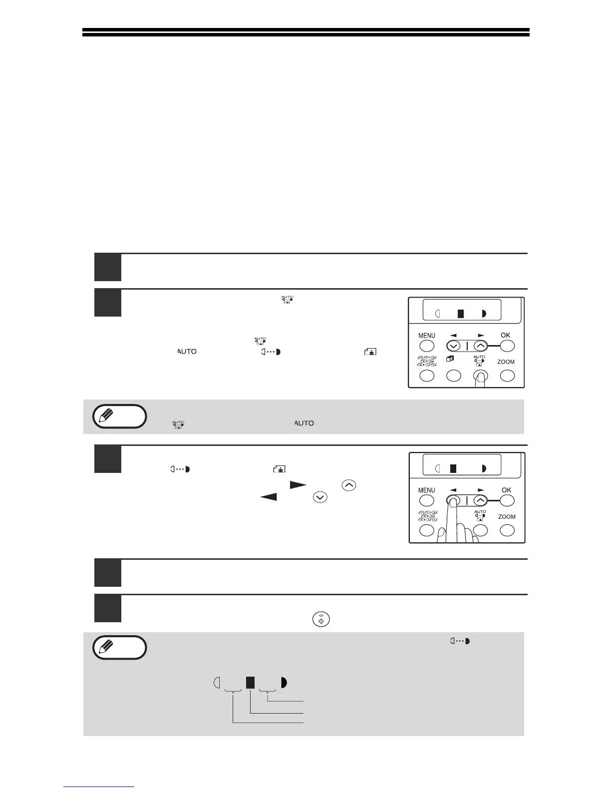
Press the [EXPOSURE ( )] key to select
the original type.
The original image type changes as follows each
time the [EXPOSURE ( )] key is pressed:
"AUTO" ( )"TEXT" ( ) "PHOTO" ( ).
3
If needed, adjust the exposure level for
TEXT ( ) or PHOTO ( ).
For a darker image, press the [ ] key ( ). For a
lighter image, press the [ ] key ( ).
4
Press the [OK] key.
5
Select the number of copies and any other copy settings, and
then press the [START] key ( ).
To return to auto exposure adjustment, press the [EXPOSURE
( )] key until "AUTO" ( ) appears.
Exposure value guidelines (When in "TEXT" ( )
setting)
1,2,3,
1,2,3,
SP. FUNC
TEXT
| | | | |
Note
TEXT
| | | | |
1,2,3,
1,2,3,
SP. FUNC
Note
Normal originals
Coloured text or text written in pencil
Dark originals like newspapers
| | | | |

Table of Contents

Other manuals for Sharp AR-M150

Related product manuals