EasyManua.ls Logo

Sharp CD-C250X BK - Page 52

Sharp CD-C250X BK
56 pages
Print Icon
To Next Page IconTo Next Page
To Next Page IconTo Next Page
To Previous Page IconTo Previous Page
To Previous Page IconTo Previous Page
Loading...
,---------------------
I
I
I
306-2
I
G-306
I
I
306-l
I
\
I
x
7nr)
/
_
302
j
701
/
305x2
1
F>wY
/
PWB-E
1
1
2
3 4 5 6
1
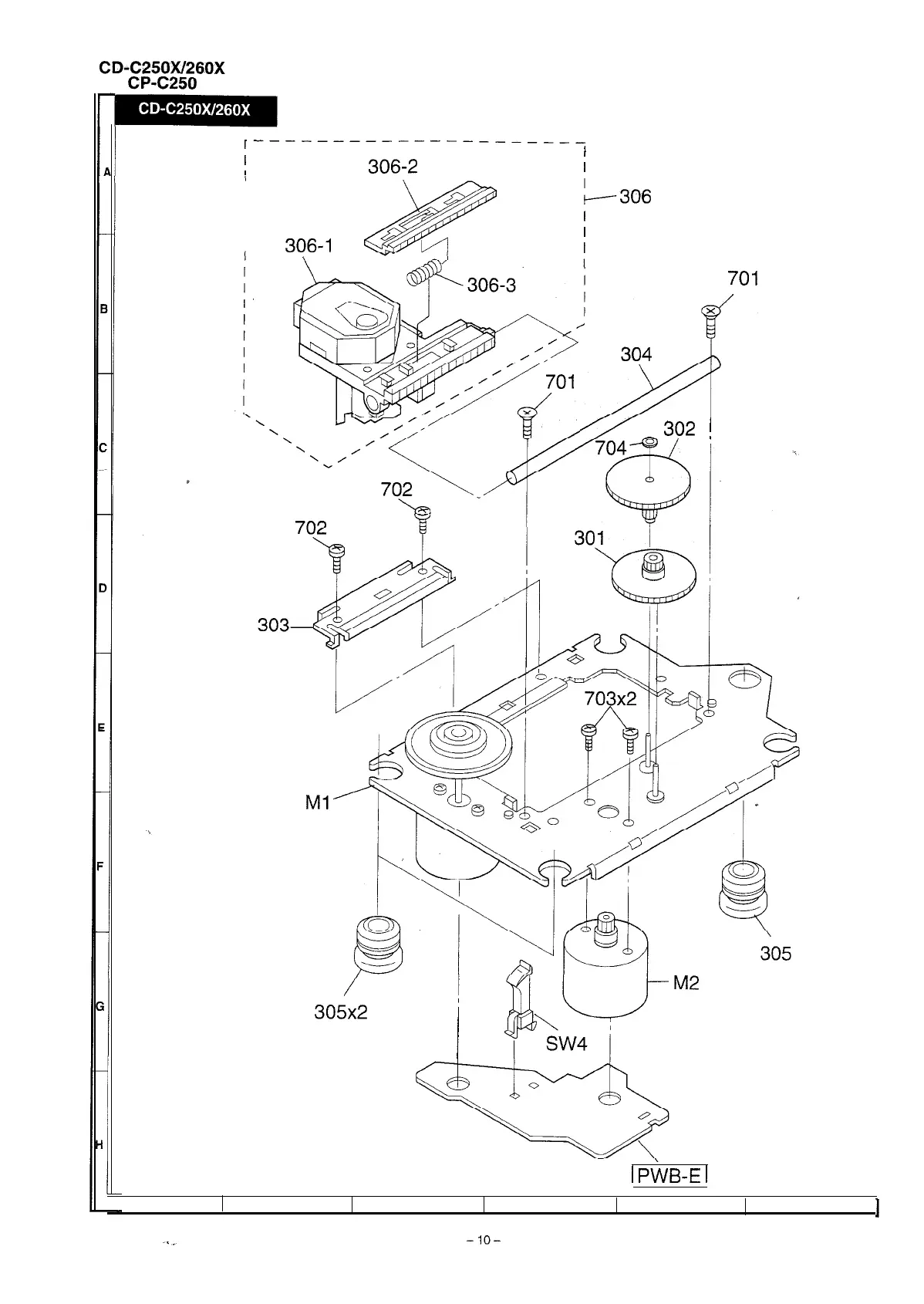
Figure 10 CD MECHANISM EXPLODED VIEW

Related product manuals