EasyManua.ls Logo

Sharp TINSZ2601RCZZ - Preset Unit Price; PLU (Price Look-Up) and Sub-Department Programming

Sharp TINSZ2601RCZZ
120 pages
Print Icon
To Next Page IconTo Next Page
To Next Page IconTo Next Page
To Previous Page IconTo Previous Page
To Previous Page IconTo Previous Page
Loading...
35
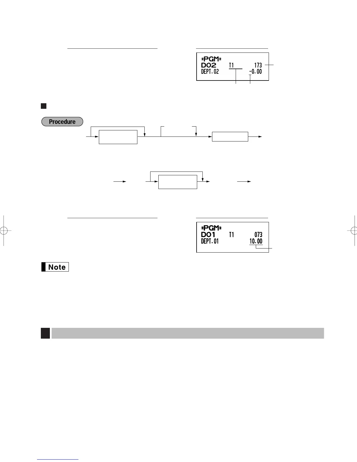
Example: Programming department 2 as taxable 1, SICS, negative department, entry digit limit - 7 digits, and
allowing open & preset entry. (ABCDEFGH: 00011173)
Preset unit price
To program another department, start from the beginning without pressing the
A
key.
Even if a department is not programmed to allow the entry of preset unit prices in functional
programming, the department is automatically changed to allow the entry of preset unit prices by
this programming entry.
The PLU function allows speedy key entries whereby a price is automatically called up when a code is entered.
The sub-department is a kind of “open PLU”, which requires you to enter a price after the PLU code is entered.
A maximum of 2000 PLU/sub-department settings are possible. Each one belongs to a department and
acquires the department’s parameters (tax status, SICS and sign).
The cash register is preprogrammed so all 2000 codes are assigned as PLUs associated with department 1 and
preset unit price “0”.
PLU (Price Look-Up) and Sub-department Programming
2
Unit price
1000
!
A
PrintKey operation example
For department 33-99:
ds
Dept. code
Unit price
(max. six digits)
A
To program zero
To program zero
Dept. key
Unit price
(max. six digits)
D
*
*To program departments 17 through 32, press the department shift key at this point.
A
Tax status
From left, EGH
Sign(F)
00011173
@
"A
PrintKey operation example
A22S_3 FOR THE MANAGER 09.10.16 5:41 PM Page 35

Table of Contents

Related product manuals