EasyManua.ls Logo

Sharp TINSZ2601RCZZ - Texto de Sección; Texto de PLU (Etiqueta de Artículo)

Sharp TINSZ2601RCZZ
120 pages
Print Icon
To Next Page IconTo Next Page
To Next Page IconTo Next Page
To Previous Page IconTo Previous Page
To Previous Page IconTo Previous Page
Loading...
20
Para programar la palabra “Clerk01” con la letra “C” de tamaño doble.
Para que la letra “C” sea de tamaño doble
Wg
Para que el tamaño de los caracteres vuelva al normal
W
Para cambiar a letras minúsculas
H
hijk
Para introducir números
N01
Introducción de códigos de caracteres con las teclas numéricas del teclado
Los números, las letras y los símbolos pueden programarse introduciendo el código de carácter y la tecla
:
.
(Si se selecciona la entrada de caracteres numéricos, es decir, “_” se enciende en la posición NUMBER del
visualizador, pulse la tecla
N
para que se apague.) Prepare la tabla de códigos de caracteres alfanuméricos
de la página siguiente. De este modo, podrá programar caracteres distintos a los que hay en las teclas.
• Pueden obtenerse caracteres de tamaño doble introduciendo el código de caracteres 253.
• DEBEN introducirse los tres dígitos del código del carácter (aunque empiece con cero).
Para programar la palabra “SHARP” en caracteres de tamaño doble.
Cuando pulsa una tecla del número apropiado (número de código de tarea) y pulsa la tecla
P
para entrada de
texto justo después de haber comenzado la programación con la tecla
s
, la caja registradora quedará
automáticamente preparada para la entrada siguiente.
Para los códigos de los caracteres alfanuméricos, consulte la tabla de la página 40 de la versión
inglesa.
253
:
083
:
072
:
065
:
082
:
080
:
S H A R P
Texto de sección
*Para programar las secciones 17 a 32, pulse la tecla de cambio de sección.
Texto de PLU (etiqueta de artículo)
s
1
P!
FRUTA
sA
(Programación de FRUTA para la sección 1)
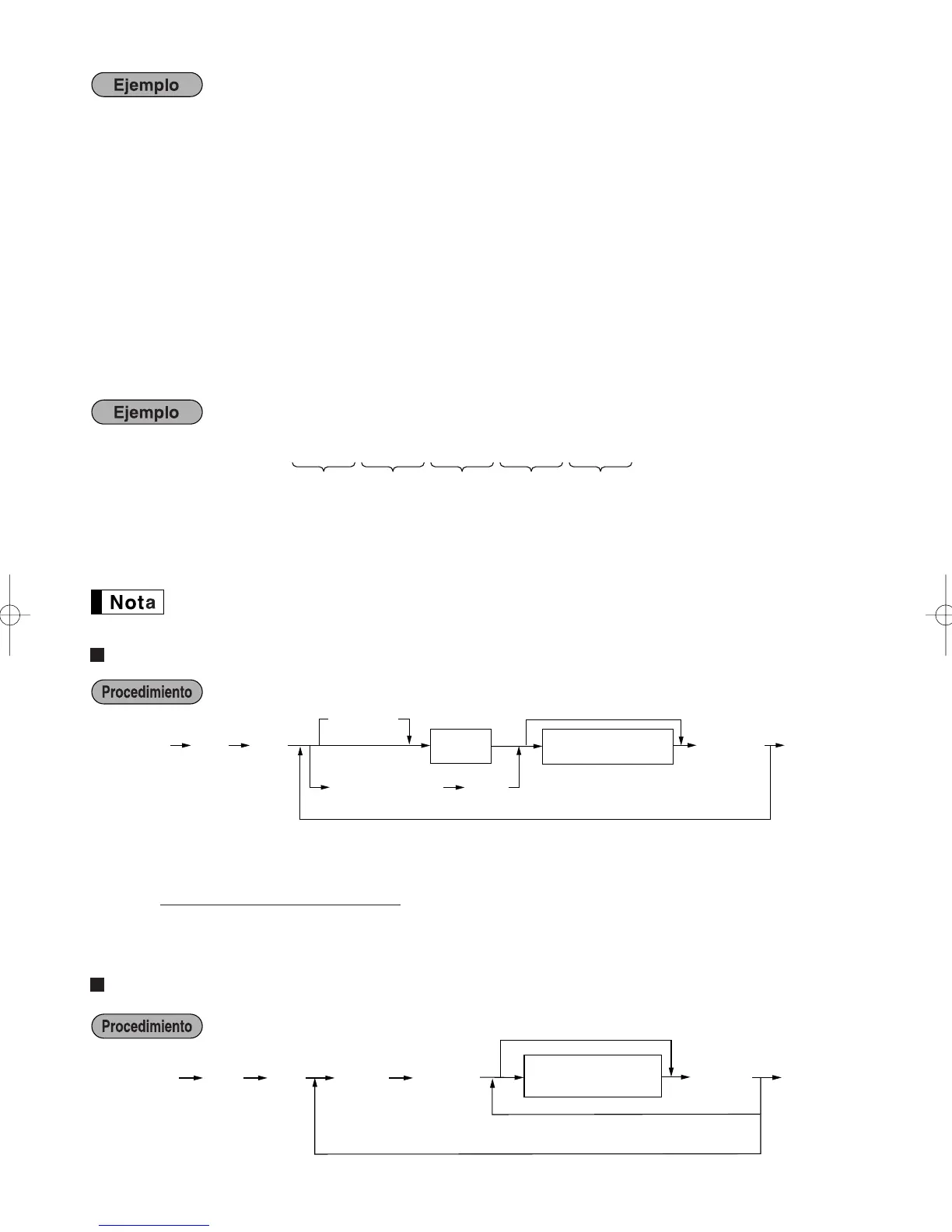
Ejemplo de operación de teclas
s 1 P
d
s
Para programar otra sección
Para mantener el ajuste vigente
Tecla de
sección
Teclas de caracteres
(máx. 12 dígitos)
D
*
Código de sección
(1 a 99)
A
s P2 p
Código
de PLU
Cuando el siguiente código de PLU sigue
inmediatamente al que se acaba de introducir
Teclas de caracteres
(máx. 12 dígitos)
As
Para mantener el ajuste vigente
Para programar otra PLU
A22SU_3(Sp) 09.10.19 10:21 AM Page 20

Table of Contents

Related product manuals