EasyManua.ls Logo

Sharp TINSZ2601RCZZ - Precio Unitario Preajustado; Programación de PLU (Codificación de Precios) y Subsección; Asignación de Precios Unitarios y de Secciones Asociadas

Sharp TINSZ2601RCZZ
120 pages
Print Icon
To Next Page IconTo Next Page
To Next Page IconTo Next Page
To Previous Page IconTo Previous Page
To Previous Page IconTo Previous Page
Loading...
16
Estado de impuestos (imponible 1 a 4 / no imponible)
• Cuando se efectúa un registro de una sección imponible en una transacción, los impuestos se calculan
automáticamente de acuerdo con la tabla o tasa de impuestos asociada.
SICS (Venta en metálico de un solo artículo)
• Si se efectúa primero un registro de una sección programada para SICS, la venta se finalizará como venta de
pago en metálico así que se pulse la tecla de la sección.
Límite de dígitos de entrada
• El límite es eficaz para operaciones en el modo REG y puede pasarse por alto en el modo MGR.
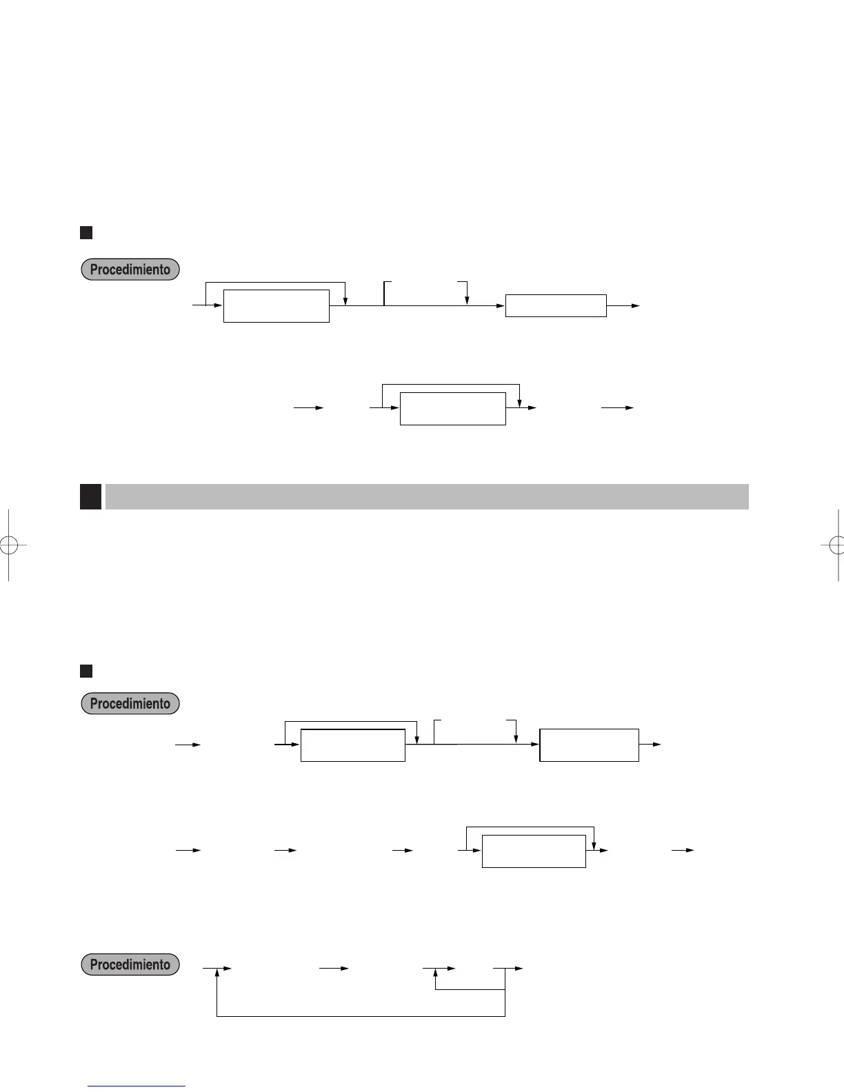
Precio unitario preajustado
Para programar otra sección, comience desde el principio sin pulsar la tecla
A
.
La función de PLU permite realizar registros rápidos con las teclas en los que el precio se busca
automáticamente al introducir un código. La subsección es un tipo de “PLU abierta”, que requiere que usted
introduzca un precio detrás del código de PLU. Pueden realizarse un máximo de 2.000 ajustes de
PLU/subsección. Cada una pertenece a una sección y adquiere los parámetros de la sección (estado de
impuestos, SICS y signo).
La caja registradora ya está programada de modo que los 2.000 códigos están asignados a las PLU asociadas
con la sección 1 y precio unitario preajustado “0”.
Asignación de precios unitarios y de secciones asociadas
Para borrar un código de PLU, emplee la secuencia siguiente:
Código de PLU
pv
Para borrar la PLU siguiente
Para borrar otra PLU
A
Programación de PLU (codificación de precios) y subsección
2
Para las secciones 33 a 99:
ds
Código de sección
Precio unitario
(máx. seis dígitos)
A
Para programar cero
Para programar cero
Tecla de sección
Precio unitario
(máx. seis dígitos)
D
*
*Para programar las secciones 17 a 32, pulse la tecla de cambio de sección en este punto.
A
*
2
Código de PLU
*1: Para asignar las secciones 17 a 32, pulse la tecla de cambio de sección en este punto.
p
Para programar cero
Precio unitario*
3
(máx. seis dígitos)
A
D
*
1
Tecla de sección
asociada
*
2
Código de PLU
Cuando la sección asociada es una de las secciones 33 a 99:
p
ds
Para programar cero
Código de
sección asociada
(1 a 99)
Precio unitario*
3
(máx. seis dígitos)
A
*2: 1 a 2.000 (Dependiendo del ajuste del tamaño de la memoria EJ, hasta 200)
*3: Para una subsección, ajuste el importe de límite del registro de precio unitario.
A22SU_3(Sp) 09.10.19 10:21 AM Page 16

Table of Contents

Related product manuals