EasyManua.ls Logo

Sharp TINSZ2601RCZZ - Unit Price and Associated Department Assignment; Plu;Sub-Department Selection

Sharp TINSZ2601RCZZ
120 pages
Print Icon
To Next Page IconTo Next Page
To Next Page IconTo Next Page
To Previous Page IconTo Previous Page
To Previous Page IconTo Previous Page
Loading...
36
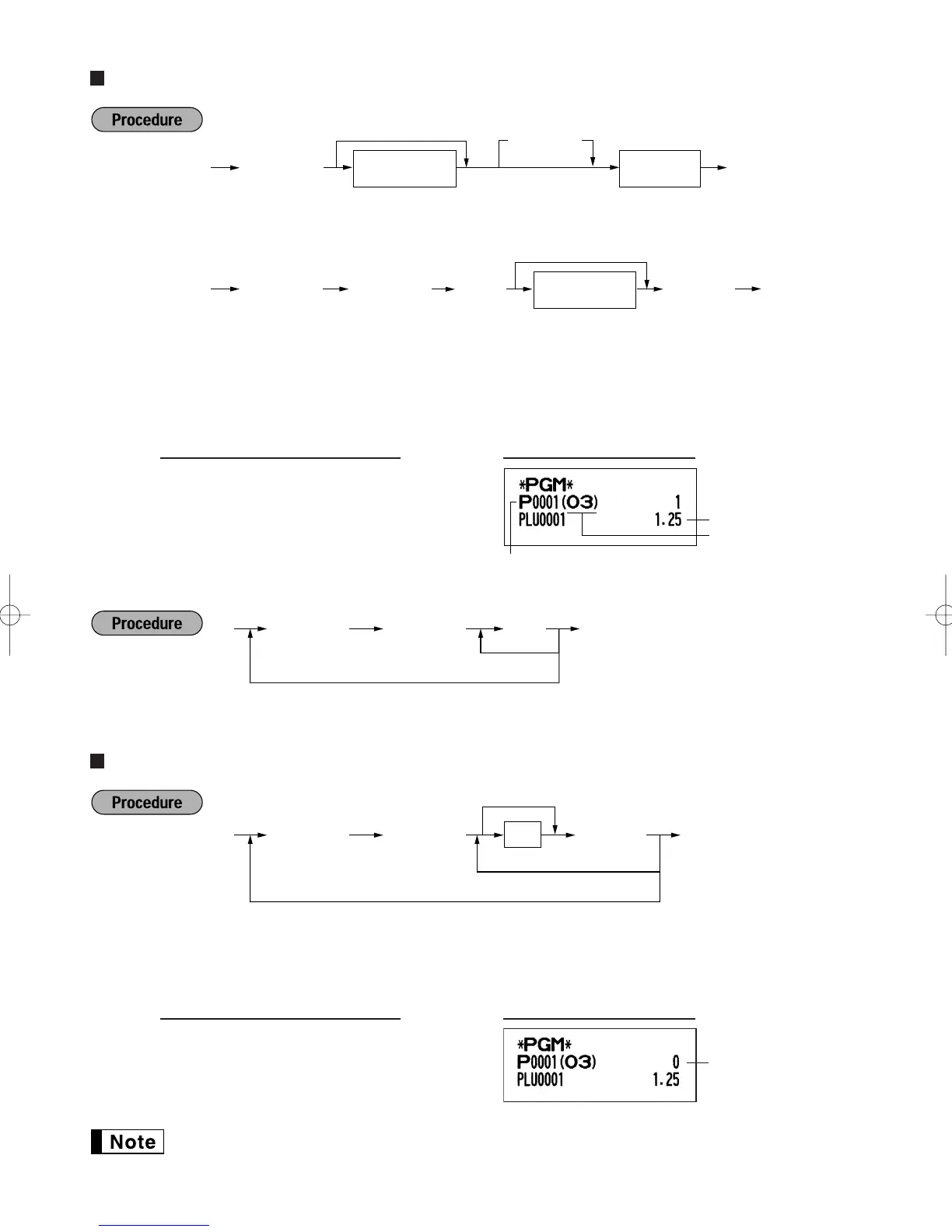
Unit price and associated department assignment
*2: 1 through 2000 (Depending on the EJ memory size setting, up to 200)
*3: For a sub-department, set the limit amount of unit price entry.
To program the following PLU, start from entering a unit price or an associated department code without
pressing the
A
key.
To program another PLU, start from the beginning without pressing the
A
key.
To delete a PLU code, use the following sequence:
PLU/sub-department selection
*1: 1 through 2000 (Depending on the EJ memory size setting, up to 200)
*2: 0 for sub-department or 1 for PLU (default: 1)
When you program the last PLU code, the programming sequence will be complete with a press of
the
s
key.
PLU/sub-dept.
1
p
0
sA
PrintKey operation example
*
1
PLU code
p
To program "0"
To program the following PLU
To program another PLU
As
*
2
A
PLU code
pv
To delete the following PLU
To delete another PLU
A
PLU code
Unit price
Associated dept.
1
p
125
#
A
PrintKey operation example
*
2
PLU code
*1: To assign departments 17 through 32, press the department shift key at this point.
p
To program zero
Unit price
(max. six digits)
A
D
*
1
Associated
Dept. key
*
3
*
2
PLU code
When the associated department is department 33-99:
p
ds
To program zero
Associated
dept. code
(1 to 99)
Unit price
(max. six digits)
A
*
3
A22S_3 FOR THE MANAGER 09.10.16 5:41 PM Page 36

Table of Contents

Related product manuals