EasyManua.ls Logo

Sharp VH3 Mill - 3 Handling the Main Operation Parts; Name of each Part

Sharp VH3 Mill
28 pages
Print Icon
To Next Page IconTo Next Page
To Next Page IconTo Next Page
To Previous Page IconTo Previous Page
To Previous Page IconTo Previous Page
Loading...
3. Handling the main operating parts
3-1 Name of each part
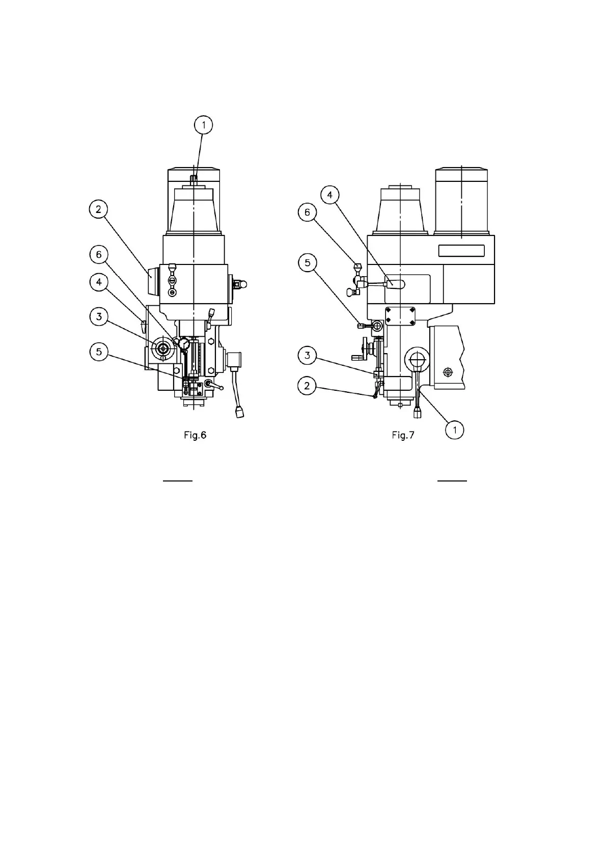
Fig. 6 Fig. 7
(1) Draw-in blot (1) Main spindle vertical rapid lever
(2) Name plate for indicating
spindle speed.
(2) Spindle quill clamping lever
(3) Hand wheel for main spindle
vertical feed.
(3) Main spindle vertical adjustment
stopper
(4) Main spindle vertical feed
change over knob
(4) High-Low speed shifter lever
(5) Indicator stop
(6) Indicator holder
(5) Main spindle feed direction
change-over lever
(6) Variable speed handle
Chung Sing 10
VERSION: 2

Related product manuals