EasyManua.ls Logo

Sharp XE-A101 - When an Error Occurs; Error Escape Function

Sharp XE-A101
25 pages
Print Icon
To Next Page IconTo Next Page
To Next Page IconTo Next Page
To Previous Page IconTo Previous Page
To Previous Page IconTo Previous Page
Loading...
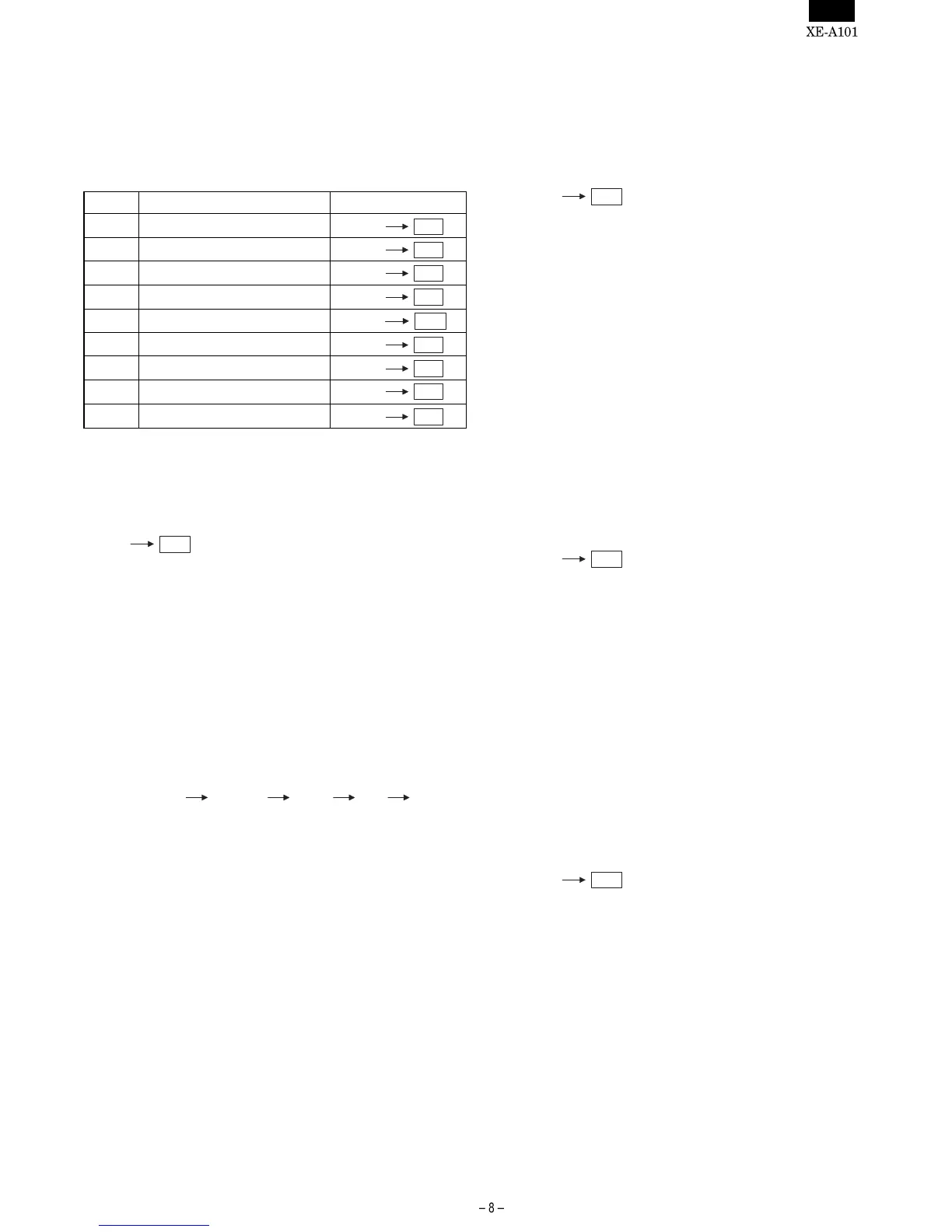
CHAPTER 5.TEST FUNCTION
1) To execute the diag test, set the mode switch to Z/PGM. Enter the
desired JOB code, and press the PO (paid out) key.
2) The test message is printed by the printer.
3) Test contents and key operations.
NO. Test contents Key operations
1 Mode switch test
2Key test
3 Display buzzer test
4 Drawer test
5 Printer test
6 CPU version NO. print
7 Battery level test
8 Time display test
9 Destination display
1. MODE SWITCH TEST
1) KEY OPERATION
2) TEST PROCEDURE
Change over the mode switch as follows. If the mode switch data in
the proper sequence is not read with the above operation, an error is
printed.
To cancel this test mode, set the mode switch to any a position other
than Z/PGM to Z/PGM. In this case, the completion print is performed.
During the test , the display indicates hard codes which correspond to
the switch positions.
3) MODE SWITCH OPERATION
Completion print 01
Error print – – – 01
2. KEY TEST
1) KEY OPERATION
2) TEST PROCEDURE
Perform the keyboard check with the sum check data of the key code.
Enter the sum check data of each model in the four digits preceding
the diag number 02, and compare the data with the key position code
which is added until the CA/AT/NS key is pressed.
If the data coincides with the code, the completion print is performed.
If not, the error print is performed.
Completion print 02
Error print – – – 02
XXXX Sum data
3. DISPLAY BUZZER TEST
1) KEY OPERATION
2) TEST PROCEDURE
Check the continuous buzzer sound and the display state.
Display state:
8. 7. 6. 5. 4. 3. 2. 1.
The decimal point will shift from the lower digit to the upper, step by
step (500mSEC). To cancel the test mode, press any key, and the
buzzer will stop and the completion print is performed.
Completion print 03
4. DRAWER TEST
1) KEY OPERATION
2) TEST PROCEDURE
The drawer opens with the above key operation. Check that the
drawer is open. Press any key to terminate the test.
Completion print 04
PO1
PO02
PO3
PO4
PO5
PO6
PO7
PO8
PO9
PO1
Mode:
Display: (01)(02)
X/FLASH
(03)
Z/PGM
(04)
OFFVOID REG
PO02
PO3
PO4

Other manuals for Sharp XE-A101

Related product manuals