EasyManua.ls Logo

Sharp XE-A102 - Page 45

Sharp XE-A102
140 pages
Print Icon
To Next Page IconTo Next Page
To Next Page IconTo Next Page
To Previous Page IconTo Previous Page
To Previous Page IconTo Previous Page
Loading...
16
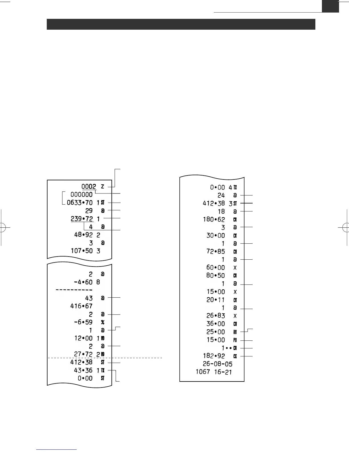
Abruf und Nullstellung der Umsätze
In diesem Bericht werden in der Position Z/PGM dieselben Informationen ausgedruckt wie bei
einem X-Bericht. Nach dem Ausdrucken wird der Tagesspeicher der Registrierkasse gelöscht und
die Transaktionssumme auf Null zurückgestellt. Es empfiehlt sich, am Ende eines Geschäftstages
einen Z-Bericht auszudrucken.
Beim Ausdruck eines Z-Berichts kann ebenso die Gesamtsumme (GT) nullgestellt werden.
Um einen Z-Bericht auszustellen, das untenstehende Verfahren durchführen.
1. Das Funktionsschloß auf die Position Z/PGM einstellen.
2. Nötigenfalls den Geheimcode eingeben und die Taste t drücken.
Um einen Z-Bericht mit Gesamtsummen (GT)-Nullstellung auszustellen:
3. Die Taste C drücken.
4. Nötigenfalls den Geheimcode eingeben und die Taste C drücken.
Um einen Z-Bericht ohne Gesamtsummen-Nullstellung auszustellen:
3. Die Taste t drücken.
4. Nötigenfalls den Geheimcode eingeben und die Taste t drücken.
Z-Umsatzbericht und Nullstellung
Nullstellzähler
Gesamtsumme (GT)
Menge
Warengruppen-
zähler und
Gesamtbetrag
Prozentzähler und
Gesamtbetrag
Postenstorno-
zähler und
Gesamtbetrag
Stornomoduszähler
und Gesamtbetrag
*
2
Zu versteuernder
Umsatz 1
Gesamtbetrag
MWSt 1
Gesamtbetrag
Warengruppencode
Betrag
*
1
Rückstellsymbol
(Bei einem X-
Bericht steht hier
X.)
Transaktionszähler
Gesamtumsatz
Barverkaufszähler und
Gesamtbetrag
Scheckverkaufszähler
und Gesamtbetrag
Kreditverkaufszähler
und Gesamtbetrag
Fremdwährungszähler
und Gesamtbetrag
(Bar)
Fremdwährungszähler
und Gesamtbetrag
(Scheck)
Fremdwährungszähler
und Gesamtbetrag
(Kredit)
Bezahlte Rechnungen
Gesamt
Ausgaben Gesamt
Kein-Verkauf-Zähler
Bargeld in der Schublade
*
3
*
4
*
4
Verkaufsberichtbeispiel
*
1
Diese Ausdrucke erfolgen nur auf dem Z-Bericht.
*
2
Die durch Rundung erzeugte Differenz wird hier ausgedruckt, falls die australische Rundung
angewendet ist.
*
3
Die Ausdrucke erfolgen nicht, falls der Währungsumrechnungskurs auf 0,000000 eingestellt ist.
*
4
Die Ausdrucke erfolgen nicht, falls Nein für Scheck- und Kreditabschluß bei Zahlgeldeingabe
in Fremdwährung bei der EURO-Programmierung ausgewählt und/oder der Währungs-
umrechnungskurs auf 0,000000 eingestellt ist.
A102_01(D) 05.4.18 5:37 PM Page 17

Table of Contents

Other manuals for Sharp XE-A102

Related product manuals