EasyManua.ls Logo

Sharp XE-A147 - PLU (Price Look-Up) and Subdepartment Programming

Sharp XE-A147
40 pages
Print Icon
To Next Page IconTo Next Page
To Next Page IconTo Next Page
To Previous Page IconTo Previous Page
To Previous Page IconTo Previous Page
Loading...
17
7 PLU (Price Look-Up) and Subdepartment Programming
The PLU function allows speedy key entries whereby a price is automatically called up when a code is entered.
The subdepartment is a kind of “open PLU”, which requires you to enter a price after the PLU code is entered.
PLU/subdepartment setting for 1 through 200 codes are available.
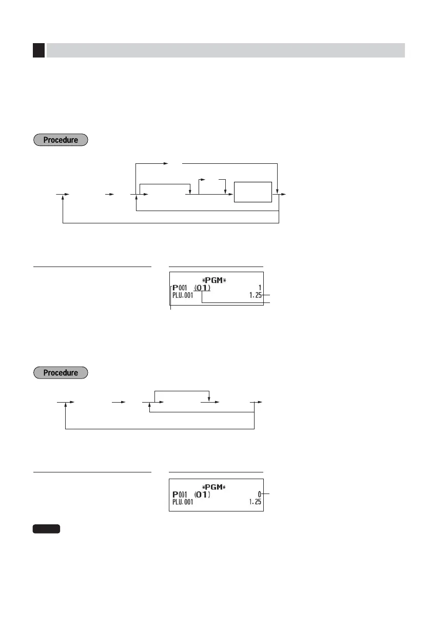
Unit price and associated department assignment
To delete the PLU code
For dept. 5 through 8
To program zero
PLU code Unit price
(max. 8 digits)
To program or delete the following PLU code
To program or delete another PLU code
Associated
Dept. key
p
v
A
H
Key operation example
Print
1
p
125
!
A
PLU code
Unit price
Associated dept.
PLU/subdepartment selection
To program "0"
*A (0 or 1)PLU code
To program the following PLU code
To program another PLU code
Asp
*A: 0 for subdepartment or 1 for PLU
Key operation example
Print
1
p
0
s
A
PLU/subdept.
NOTE
When you program the last PLU code, the programming sequence will be complete with a press of the
s
key.

Other manuals for Sharp XE-A147

Related product manuals