EasyManua.ls Logo

Sharp XE-A506 - Page 39

Sharp XE-A506
132 pages
Print Icon
To Next Page IconTo Next Page
To Next Page IconTo Next Page
To Previous Page IconTo Previous Page
To Previous Page IconTo Previous Page
Loading...
37
Commission group number
• A commission group (0 to 2, 0: non commission) can be assigned to each department for commission for
clerks. Each commission amount for each clerk is calculated based on a programmed commission rate and
later printed on clerk reports.
Tax status (taxable 1 through 4 / non-taxable)
• When any entry of a taxable department is made in a transaction, tax is automatically computed according to
the associated tax table or rate.
SICS (Single Item Cash Sale)
• If an entry of a department programmed for SICS is made first, the sale will be finalized as a cash sale as
soon as the department key is pressed. If the entry is made after entering a department not programmed for
SICS, the sale will not be finalized until the
A
key is pressed.
Entry digit limit
• Set the number of allowable digits for the maximum entry amount for each department. The limit is effective
for operations in the REG mode and can be overridden in the MGR mode.
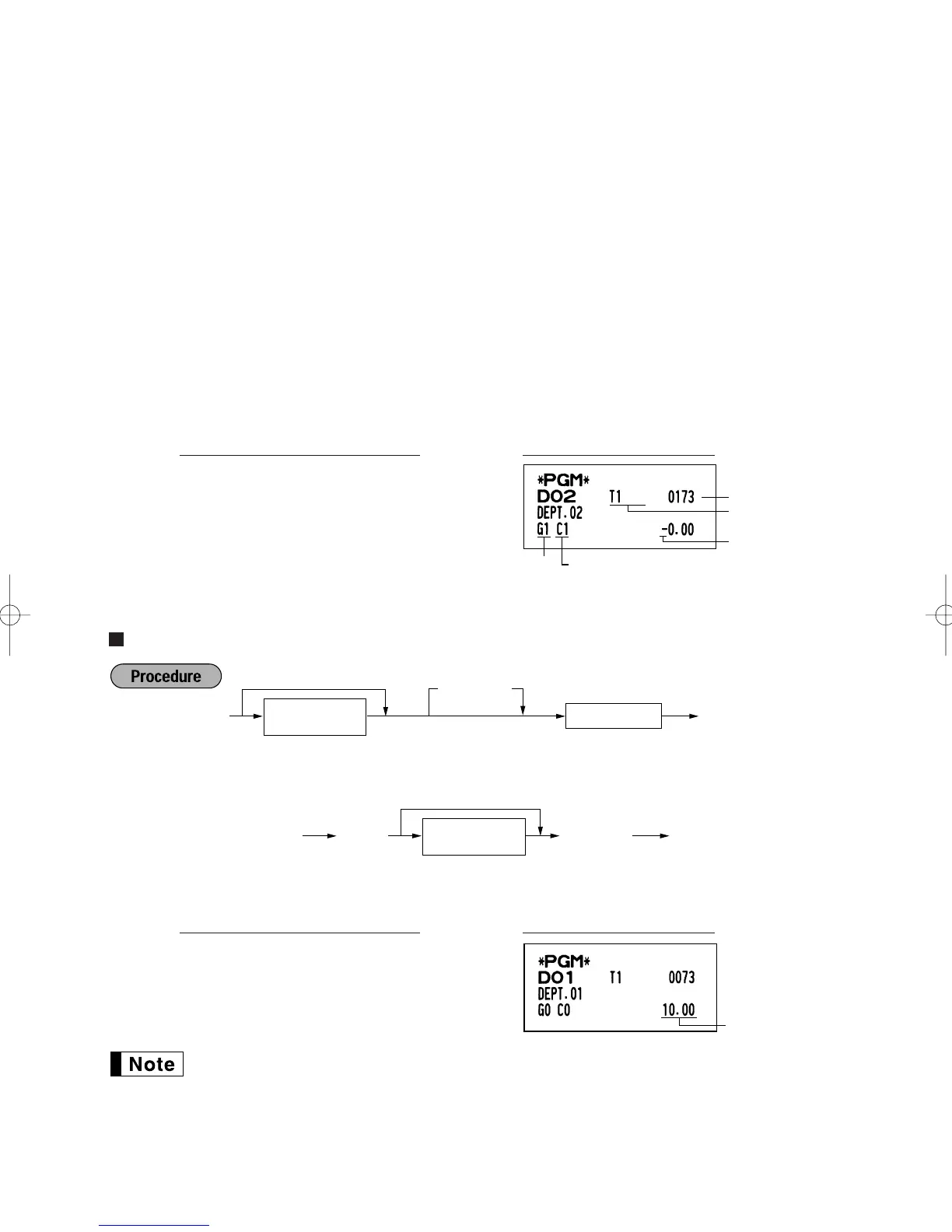
Example: Programming department 2 as normal dept. group 1, commission group 1, taxable 1, SICS, negative
department, entry digit limit - 7 digits, and allowing open & preset entry.
(ABCDEFGHIJK: 01100011173)
Preset unit price
To program another department, start from the beginning without pressing the
A
key.
If a department is not programmed to allow the entry of preset unit prices in functional
programming, the department is automatically changed to allow the entry of preset unit prices by
this programming entry.
Unit price
1000
¡
A
PrintKey operation example
For department 41-99:
ds
Dept. code
Unit price
(max. six digits)
A
To program zero
To program zero
Dept. key
Unit price
(max. six digits)
D
*
*To program departments 21 through 40, press the department shift key.
A
Tax status
Dept. group
Commission group
From left, AHJK
Sign(I)
01100011173
@
™A
PrintKey operation example
A506_3 FOR THE MANAGER 09.10.14 9:27 AM Page 37

Table of Contents

Related product manuals