EasyManua.ls Logo

Sharp XE-A507 - Finalizing Transactions; Cash or Check Tendering

Sharp XE-A507
112 pages
Print Icon
To Next Page IconTo Next Page
To Next Page IconTo Next Page
To Previous Page IconTo Previous Page
To Previous Page IconTo Previous Page
Loading...
22
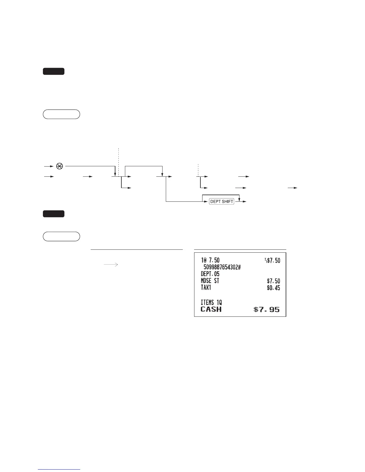
FuncióndeaprendizajeUPC(creaciónyregistrodeUPCsdesconocidos)
Cuando introduzca o escanee un código UPC no denido, deberá introducir su precio de unidad y el
departamento asociado. El código, departamento asociado y precio de unidad están memorizados en el
archivo UPC y se utilizan para futuras entradas de ventas UPC.
NOTA
• Cuando se supera la capacidad de almacenaje de este archivo, los datos no se memorizan en
este archivo.
• Para el texto del código UPC, se aplica el texto del departamento asociado.
• Puede utilizar la función de aprendizaje UPC en el modo de formación.
Procedimiento
Selección depto.
Q
A
Ap
a
A
Cuando el precio de
unidad es cero.
Precio
unidad
Código
departamento
Código UPC
no definido
Se visualizará el mensaje “UNDEFINED CODE”,
se emitirá un sonido (beep) y se visualizará la ventana
de introducción del precio.
Se visualiza la ventana
de introducción del
código de departamento.
Para cancelar
la operacion
Tecla de departamento
Exploración de un código
UPC no definido
NOTA
Para repetir la entrada, utilice la tecla
p
.
Ejemplo
Operacióntecla Impresión
5099887654302
p
750
A
5
A
A
Se visualiza
“UNDEFINED CODE”.

Table of Contents

Other manuals for Sharp XE-A507

Related product manuals