EasyManua.ls Logo

Siemens 125-5033

Siemens 125-5033
35 pages
To Next Page IconTo Next Page
To Next Page IconTo Next Page
To Previous Page IconTo Previous Page
To Previous Page IconTo Previous Page
Loading...
Fume Hood Controller Owner's Manual
2 Siemens Building Technologies, Inc.
Table 1. Fume Hood Controller – Electronic Output Applications.
Application Description
940 2 Position Fume Hood Controller
Ordering Notes
Fume Hood Controller – Electronic Output (940) 546-00750
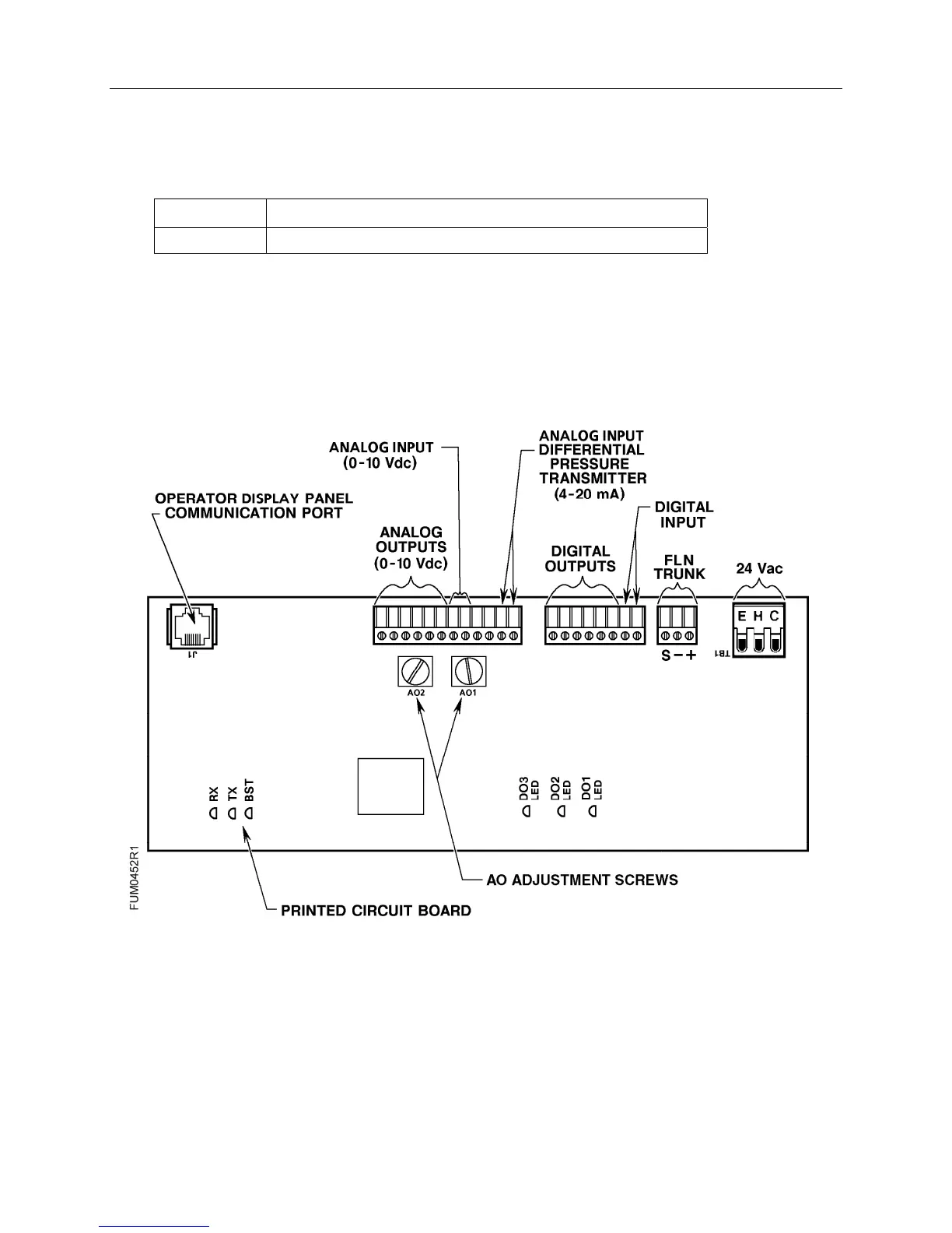
Figure 1. Fume Hood Controller Board .

Related product manuals