EasyManua.ls Logo

Siemens 125-5033

Siemens 125-5033
35 pages
To Next Page IconTo Next Page
To Next Page IconTo Next Page
To Previous Page IconTo Previous Page
To Previous Page IconTo Previous Page
Loading...
Fume Hood Controller Owner's Manual
6 Siemens Building Technologies, Inc.
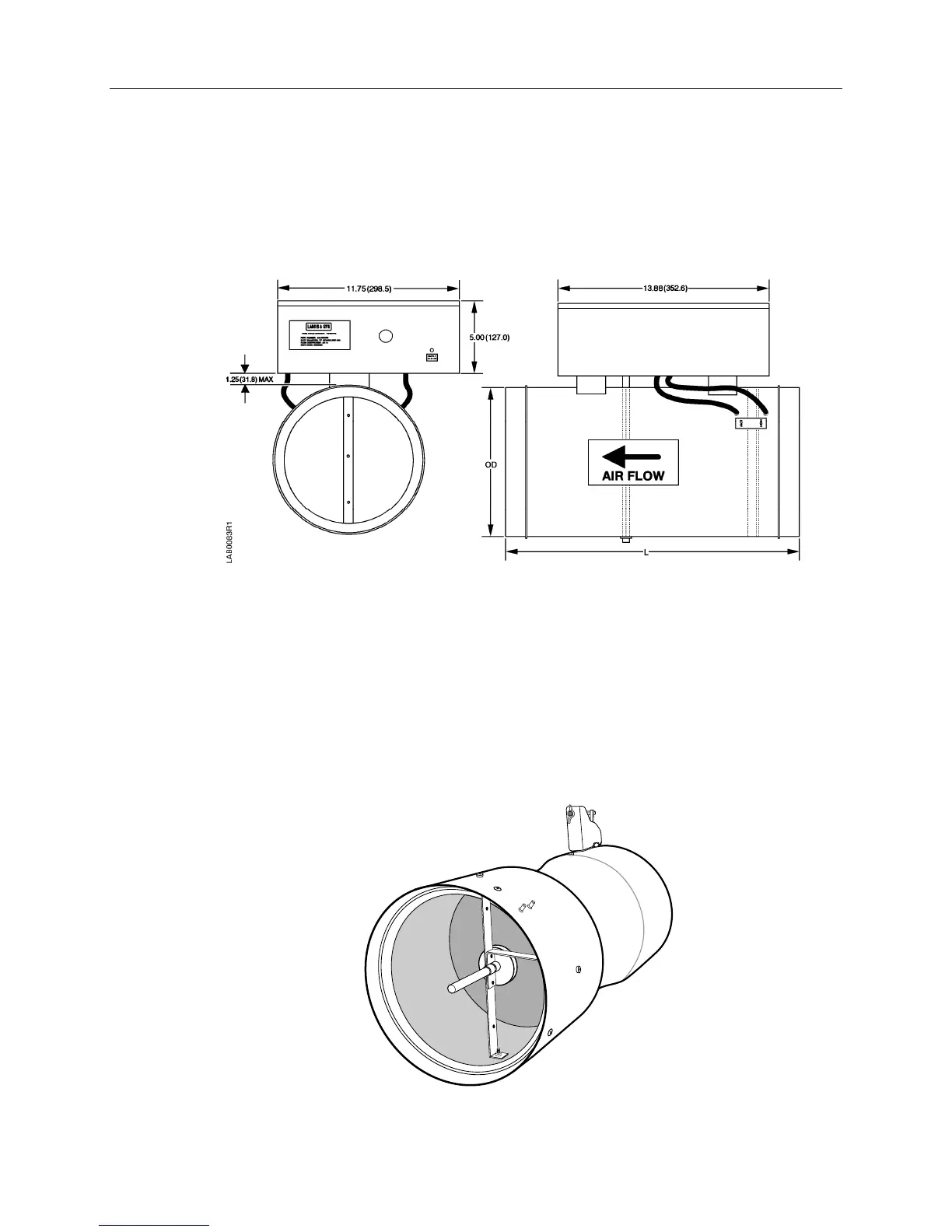
The terminal is available in diameters ranging from 4 to 18 inches. The terminal is available in
a variety of end configurations to match the ductwork construction. It is also available in
TEFLON
®
coated 18-gauge steel for highly corrosive environments.
Figure 5. Laboratory Exhaust Air Terminal.
Venturi Air Valves
The Venturi Air Valve is a pre-packaged, easy to install airflow measurement and control
station. See Figure 6. This assembly combines the orifice plate flow sensor, differential
pressure transmitter, Electronic actuator and a Venturi Air Valve.
This arrangement provides fast acting, stable, and precise exhaust airflow control.
FUM0400R1
Figure 6. Single-Body Venturi Air Valve.

Related product manuals